KE2040取扱説明書Ver.2.01和文Rev.04.pdf - 第57页
1 - 39 1-4. 外部装置とのインターフェイス 外部装置とのインターフェイス 外部装置とのインターフェイス 外部装置とのインターフェイス (1) ①は、 本体装置をオンラインで使用する場合に他の装置と接続するレディアウト (イン) 用コネク タ( 14 pin )です。 搬送方向が左→右の場合と右→左の場合とでレディアウト (イン) 用コネクタのピン配置は表 1-4-1 及び表 1- 4-2 参照。 (2) ②は、プリンタ用コネク…

1 - 38
1-3. X、
、、
、 Y、
、、
、 Z軸の説明
軸の説明軸の説明
軸の説明
本装置で数値制御される軸は以下に示す4軸(X、 Y、 Z、θ)です。
(1) X、 Y軸
装置の左右方向をX、前後方向Yとし,0.01 mm 単位で X=○○○.○○ mm,Y=○○○.○○ mm
で表します。座標系は生産プログラム上の座標とティーチング時の座標があります。両座標は、自
動的に変更されるため、意識して使い分ける必要はありません。
(2) Z 軸
高さ方向を示し,0.01 mm 単位で Z=○○.○○ mm で表します。基板をクランプしたときの基板
上面(治具を使わない)を0とし、上昇方向は+とします。
(3) θ軸
ヘッドの回転角度を示し,0.05°単位で A=○○.○○で表します。反時計方向の回転を+とし,
時計方向と一とします。
図
図図
図 1-3-1
Y軸
θ
+
Y
+
X
+
FMLA ヘッド(L)
FMLA ヘッド(R)
OCC-L
IC ノズル軸
IC ノズル軸
OCC-R
X軸
Z+

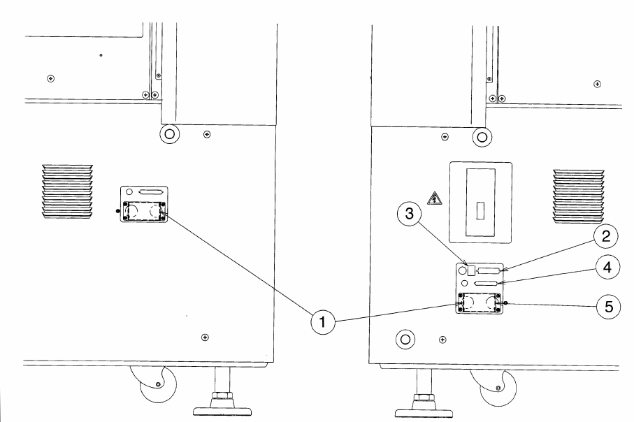
1 - 39
1-4. 外部装置とのインターフェイス
外部装置とのインターフェイス外部装置とのインターフェイス
外部装置とのインターフェイス
(1) ①は、本体装置をオンラインで使用する場合に他の装置と接続するレディアウト(イン)用コネク
タ(14 pin)です。
搬送方向が左→右の場合と右→左の場合とでレディアウト(イン)用コネクタのピン配置は表 1-4-1
及び表 1-4-2 参照。
(2) ②は、プリンタ用コネクタ(Dsub 25 pin)でセントロニクス方式に準拠しています。
プリンタ用コネクタのピン配置は表 1-4-3 参照。
③は、イーサネットコネクタ(モジュラーコネクタ8P)です。
イーサネットコネクタのピン配置は表 1-4-6 参照。
図
図図
図 1-4-1
本体正面左側
本体正面左側本体正面左側
本体正面左側 図
図図
図 1-4-2
本体正面右側
本体正面右側本体正面右側
本体正面右側
④は、マトリックスチェンジャインターフェース用コネクタ(50P)です。
⑤は、マトリックスチェンジャ電源用コネクタ(7P)です。

1 - 40
⑥は、トラックボール用コネクタ(9 pin)です。
トラックボール用コネクタのピン配置は表 1-4-5 参照。
⑦は、キーボード用コネクタ(5 pin)です。
キーボード用コネクタのピン配置は表 1-4-4 参照。
⑧は、ハンドヘルド操作盤(HOD)用コネクタ(50 pin)です。
図
図図
図 1-4-3
本体正面右側
本体正面右側本体正面右側
本体正面右側
トラックボールとキーボードのコネクタは同形状になっております。接続を間違えると機械のシス
テムが立ち上がりません。
注意
注意注意
注意 :
⑥
⑦
⑧