00196507-02_UM_X-Serie_SR705_ES.pdf - 第192页
Datos técnicos de la máquina automática I nstrucciones de servicio SIPLACE Serie-X Alimentadores-X A partir de la versión de software SR.70x.xx Edición 01/2011 192 Posiciones de alimentador oc upadas 3 3 Reserva de compo…

Instrucciones de servicio SIPLACE Serie-X Datos técnicos de la máquina automática
A partir de la versión de software SR.70x.xx Edición 01/2011 Alimentadores-X
191
3.9.4.2 Adaptador de alimentador para la serie-X con alimentador lineal vibratorio
INDICACIÓN 3
Al volumen de suministro del adaptador para alimentadores de la serie-X pertenece una placa
adaptadora:
– Para alturas de componentes hasta 16,5 mm se debe utilizar la placa adaptadora.
– Para alturas de componentes entre 16,5 mm y 25 mm se procesan sin placa adaptadora.
3
Fig. 3.9 - 15 Adaptador de alimentador para la serie-X con alimentador lineal vibratorio
(1) Adaptador para alimentadores de la serie-X (artículo N° 00141305-xx)
(2) Placa adaptadora 16,5 mm (incluida en el volumen de suministro)
(3) Alimentador lineal vibratorio, tipo 3 (artículo N° 00142031-xx)
Ancho 34,4 mm
Pistas por alimentador 1, 2 ó 3 3

Datos técnicos de la máquina automática Instrucciones de servicio SIPLACE Serie-X
Alimentadores-X A partir de la versión de software SR.70x.xx Edición 01/2011
192
Posiciones de alimentador ocupadas 3 3
Reserva de componentes por cada cargador de barras máx, 150 unid., 3
según la longitud de componente 3
Datos específicos para cargadores de barras ancho 9,5 mm / 3 unid. 3
ancho 15 mm / 2 unid. 3
ancho > 15 mm / 1 unid. 3
ancho 30 mm / 1 unid. 3
Tiempo de vibración con SIPLACE Pro ajustable de 400 hasta más
de 1.000 mseg. 3
3.9.4.3 Adaptador de alimentador para la serie-X con Reject Conveyor
(módulo de eliminación)
3
Fig. 3.9 - 16 Adaptador de alimentador para la serie-X con Reject Conveyor
(1) Adaptador para alimentadores de la serie-X (artículo N° 00141305-xx)
(2) Placa adaptadora para Reject Conveyor (artículo N° 00141308-xx)
(3) Reject Conveyor (módulo de eliminación)

Instrucciones de servicio SIPLACE Serie-X Datos técnicos de la máquina automática
A partir de la versión de software SR.70x.xx Edición 01/2011 Alimentadores-X
193
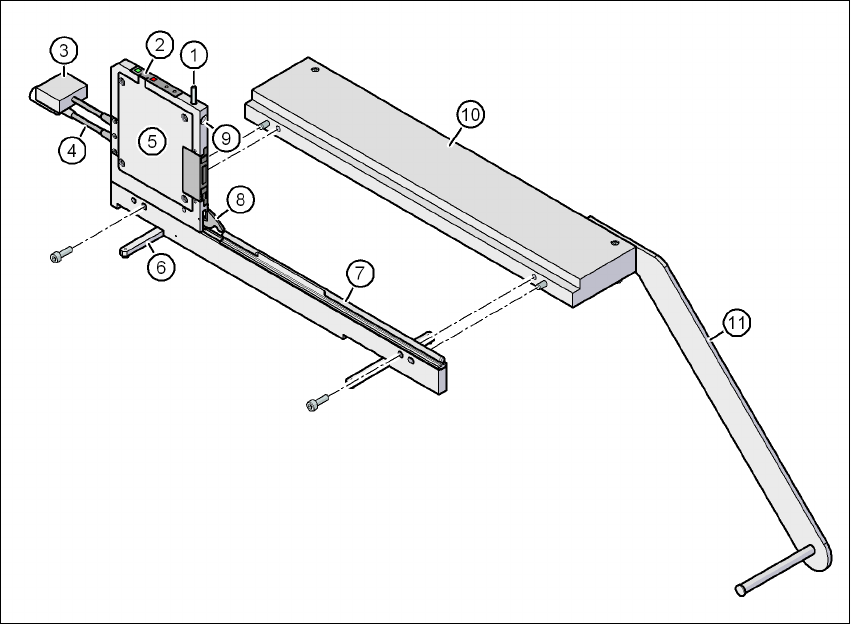
3.9.5 Interfaz de datos y de energía para alimentadores-X
Artículo N° 00141247-xx interfaz de datos y de energía para alimentador X
3
Fig. 3.9 - 17 Interfaz de datos y de energía para alimentadores-X
(1) Tecla para soltar el trinquete de desbloqueo
(2) Panel de mando
(3) Cable de datos
(4) Cable de alimentación de corriente
(5) Caja del sistema electrónico
(6) Patas plegables
(7) Perfil Omega para la guía de los alimentadores
(8) Trinquete de bloqueo
(9) Agujero de alojamiento para el perno de centrado delantero del alimentador
(10) Placa básica
(11) Portabobinas