NXT 机械手册.pdf - 第120页
5. 基本操作 QD029-26 100 NXT 机械手册 6. 请握住滑动锁定解除杆,使 PCU 本体向后方滑动。 7. 请握住导向臂锁定解除杆,从基座中慢慢 地拉出 PCU 并脱离。 8. 按 下 MA NUAL,返回到 START 等待 画面。

QD029-26 5. 基本操作
NXT 机械手册 99
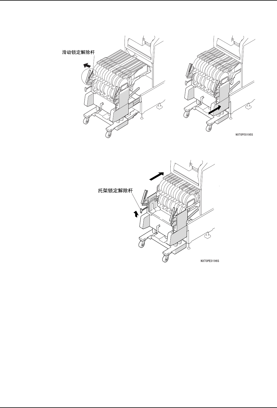
4. 请握住 PCU 滑动锁定解除杆,使 PCU 本体向前方滑动。
备注 )只有在握住解除杆的期间,锁定才被解除。
5. 请握住 PCU 滑动锁定解除杆,使 PCU 本体向前方滑动。
备注 )移动到模组上的料站托架自动地被锁定。

5. 基本操作 QD029-26
100 NXT 机械手册
6. 请握住滑动锁定解除杆,使 PCU 本体向后方滑动。
7. 请握住导向臂锁定解除杆,从基座中慢慢地拉出 PCU 并脱离。
8. 按下 MANUAL,返回到 START 等待画面。

QD029-26 5. 基本操作
NXT 机械手册 101
5.5 料盘单元 -L 的拆除 / 安装
5.5.1 准备
在安装料盘单元 -L 前,有必要从模组拆除与料带元件相关的单元以及变更元件相机位置。
1. 卸下废料带箱。
2. 请拆除料站托架,详细的拆除方法请参考 " 5.4 料站托架的拆除 / 安装 "。
3. 请拉出模组。( 参考 " 5.1 模组的拉出 / 插入 "。)
4. 请拆除供料器安装部的盖板。
注意
在内部搭载料盘的状态下,请不要移动料盘单元 -LT,对模组进行料盘单元 -L 的安装
/ 卸下。有可能使元件偏离,从料盘中跳出。
料盘单元 -LT 在向模组安装 / 卸下时,请不要给与冲击而小心地进行。因为有可能使
机器受到损伤。
1;70786
ᑳ᭭ᏺㆅ