NXT 机械手册.pdf - 第336页
7. 消耗品的更换 QD029-26 316 NXT 机械手册 7.13 冷却风扇 7.13.1 模组用风扇 1. 将主电源开关 OFF,切断机 器的电源。 2. 拧下螺丝 (4 根 ), 卸下模组背面的盖板。 3. 拧下螺丝 (2 根 ),将冷却风扇的安装支架从模组背面卸下 。 4. 拆下插座后与风扇一起从模组中取出, 拧下螺丝 (2 根 ), 将冷却风扇从支架中取出进行 更换。 警告 更换作业请必须在切断电源后 进行。

QD029-26 7. 消耗品的更换
NXT 机械手册 315
7.12.3 增加的真空泵箱
1. 拆下盖板。
2. 确认烧断的保险丝是哪一根后,将主电源开关 OFF 后切断机器的电源。
3. 请同时按下接头台的固定保险丝用的 2 个手柄。在此状态下拔下保险丝。
4. 安装时也请在同时按下 2 个手柄的状态下将保险丝安装到接头台上。返回手柄后保险丝
被固定。
注意
在更换保险丝前,请务必切断电源。请用与拆下的保险丝相同容量的保险丝更换。

7. 消耗品的更换 QD029-26
316 NXT 机械手册
7.13 冷却风扇
7.13.1 模组用风扇
1. 将主电源开关 OFF,切断机器的电源。
2. 拧下螺丝 (4 根 ), 卸下模组背面的盖板。
3. 拧下螺丝 (2 根 ),将冷却风扇的安装支架从模组背面卸下。
4. 拆下插座后与风扇一起从模组中取出, 拧下螺丝 (2 根 ), 将冷却风扇从支架中取出进行
更换。
警告
更换作业请必须在切断电源后进行。

QD029-26 7. 消耗品的更换
NXT 机械手册 317
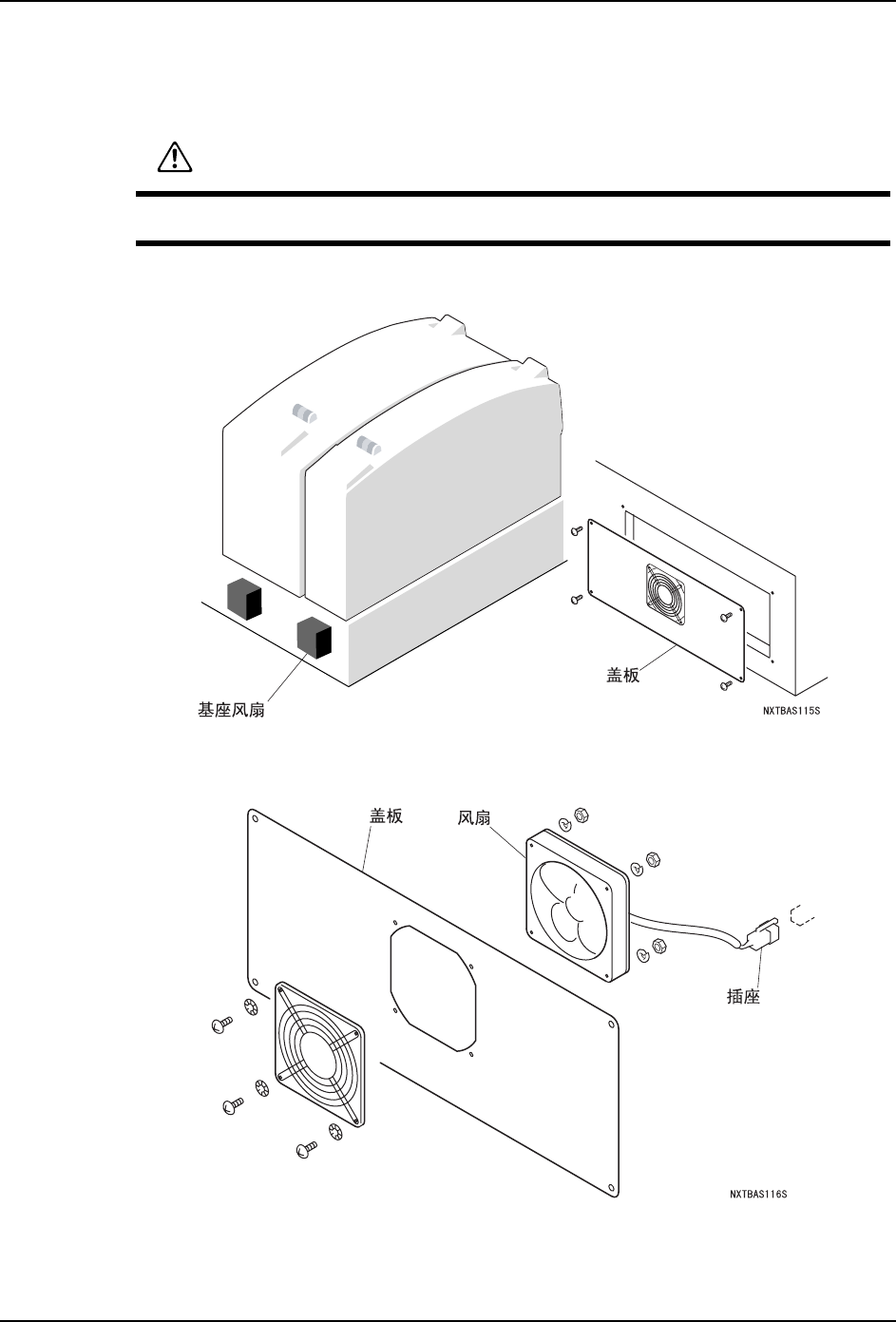
7.13.2 基座用风扇
1. 将主电源开关 OFF,切断机器的电源。
2. 拧下螺丝 (4 根 ), 卸下模组背面的盖板。
3. 拆下插座后将风扇与盖板一起从机座中卸下, 拧下螺丝 (4 根 ), 将风扇从盖板中取出进
行更换。
警告
更换作业请必须在切断电源后进行。