NXT 机械手册.pdf - 第281页
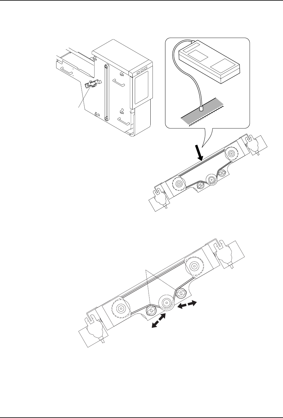
QD029-26 6. 预防保养 NXT 机械手册 261 〈TY 轴皮带张力 ( 驱动部位 )〉 1. 请 测定皮带的张力。确 认皮带中央的测定值 是 363.0 ± 20.0Hz。 2. 测定值超过上述的范围时请调整皮带张 力。 请拧松马达的固定螺栓后,旋转 调整螺栓进行调整。 ᅮ㶎ᷧ 䇗ᭈ㶎ᷧ 1;70786

6. 预防保养 QD029-26
260 NXT 机械手册
〈TY 轴皮带张力 ( 离合器部位 )〉
1. 请测定皮带的张力。确认在跨度最长的皮带中央的测定值是 225.0 ± 20.0Hz。
2. 测定值超过上述的范围时请调整皮带张力。
请移动张紧轮进行调整。
r+]
7<䕈Ⲃᏺ
1;70786
1;70786
ᓴ㋻䕂

QD029-26 6. 预防保养
NXT 机械手册 261
〈TY 轴皮带张力 ( 驱动部位 )〉
1. 请测定皮带的张力。确认皮带中央的测定值是 363.0 ± 20.0Hz。
2. 测定值超过上述的范围时请调整皮带张力。
请拧松马达的固定螺栓后,旋转调整螺栓进行调整。
ᅮ㶎ᷧ
䇗ᭈ㶎ᷧ
1;70786

6. 预防保养 QD029-26
262 NXT 机械手册
6.10 不定期操作
6.10.1 料站托架与基座间的接插件的清扫
托架夹紧发生异常时
如果出现警告,请进行以下的清扫。
1. 拆下料站托架。( 详细请参考 " 5.4 料站托架的拆除 / 安装 ")
2. 用吸尘器吸取残留在接插件 ( 料站托架侧与基座两侧 ) 的垃圾及灰尘。
6.10.2 废料带处理切刀的清扫
切刀动作不良时的操作
如果出现警告,请进行以下的清扫。
1. 拆下废料带处理单元。( 详细请参考 " 8.4 废料带处理单元的更换 ")
2. 用压缩空气从输送槽向废料带切刀吹气,除去残存的废料带及元件。
1;7'3/6E
ᦦӊ
կ᭭ᠬᶊ
᭭キᑻ
警告
不能将手指等放入废料带处理单元的开口部分。存在受伤的危险。