NXT 机械手册.pdf - 第310页
7. 消耗品的更换 QD029-26 290 NXT 机械手册 7.7 基座 CPU 箱电池 机器在即使主电源开关处于 OFF 时, 也可以根据 CPU 箱内存的电池保持网络社设定的信息。 但是, 电池在已经消耗的情况下, 如果将机器的主电源开关处于 OFF 时,这些信息 会消失。 为了保持信息,请必须在进行准 备操作后更换电池。 7.7.1 电池的种类 7.7.2 更换时期 电池报警时。 7.7.3 准备操作 1. 请纪录关于网络的以…

QD029-26 7. 消耗品的更换
NXT 机械手册 289
机器启动后,机器画面处于接受各种固有值数据的状态。
6. 登录各种固有值。
按下 「参考」按键,指定各种数据的收存地方。
备注 )在未测定料站倾斜读的模组上,没有必要登录「料站倾斜测定数据」。4 吸嘴工作头用
的元件相机补正没有进行时,没有必要在「4 吸嘴工作头用元件相机测定值数据」中登
录。
7. 单击 「开始」。
8. 暂时将主电源开关 OFF, 重新使其 ON。
9. 模组功能设定被初期化,使用附加软件重新设定。在没有执行料站倾斜测定的模组上,
请选择模组功能设定的 「供料器吸取高度设定」- 「设定值基准」。
10.从 Fuji Flexa 传送 Job。
11.进行精度的重新测定 (参考 「附加软件在线手册」)
a. 因为元件相机要进行准备动作,所以在操作前的 30 分钟接通电源。
b. 准备治具吸嘴安装在吸嘴置放台上。
c. 按下 START 按键后,进行自动校正。
12.有必要时,执行机器上 PAM,重新算出手动最终修正 (参考 " 9.1 机上 PAM (测定贴装
精度) ")。
01MEC-0035
0(&6

7. 消耗品的更换 QD029-26
290 NXT 机械手册
7.7 基座 CPU 箱电池
机器在即使主电源开关处于 OFF 时,也可以根据 CPU 箱内存的电池保持网络社设定的信息。
但是,电池在已经消耗的情况下,如果将机器的主电源开关处于 OFF 时,这些信息会消失。
为了保持信息,请必须在进行准备操作后更换电池。
7.7.1 电池的种类
7.7.2 更换时期
电池报警时。
7.7.3 准备操作
1. 请纪录关于网络的以下的设定。这些设定可以在手动模式的信息指令上进行确认。
·IP addres ·Subnet mask ·Default gateway
·此外还有 DNS 服务器和主电脑名等
接下来,请准备更换用电池、控制电源用的内存电阻 (电阻值 :1M Ω以上)用的腕带。
7.7.4 电池的更换方法
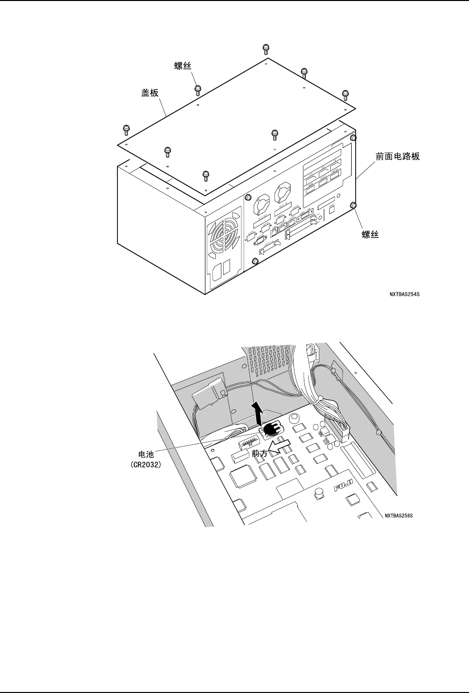
1. 主电源开关 OFF 后,将 CPU 箱从基座中取出。(请参考 " 8.12 基座 CPU 箱的更换 "。)
2. 作为防止静电的对策 , 请将控制电源用的内存电阻 ( 电阻值 :1M Ω以上 ) 的防静电腕带
戴在手腕上。碗带的连接口 (EARTH BONDING POINT)设置在基座的正面。
图号 H1019K
名称 电池
规格 CR2032
使用寿命 无运转 :2.8 年,每日 12 小时运转 :5.6 年
注意
请不要使用指定以外的电池。
使用完的电池请根据进行处理的地区的规定进行处理。
注意
在携带静电的状态下继续操作时,有可能使电子元件破坏。

QD029-26 7. 消耗品的更换
NXT 机械手册 291
3. 取下 CPU 箱的盖罩。进一步,请拆除前面面板的螺丝。
4. 请更换电池,将电池的前方向上方抬起并从电池套中取出。安装时请从后方安装,向下
压入进行安装。
5. 电池更换后,请按照与拆除时相反的顺序安装到基座上。