NXT 机械手册.pdf - 第301页
QD029-26 7. 消耗品的更换 NXT 机械手册 281 〈H12(S) 工作头〉 〈H12HS 工作头〉 01MEC-0199S Ⲫ㔽 ⬉ ∴ 㧔 ো 㧦 ++ 㧕

7. 消耗品的更换 QD029-26
280 NXT 机械手册
〈H04 工作头〉
〈H08 工作头〉

QD029-26 7. 消耗品的更换
NXT 机械手册 281
〈H12(S) 工作头〉
〈H12HS 工作头〉
01MEC-0199S
Ⲫ㔽
⬉∴
㧔ো㧦++㧕

7. 消耗品的更换 QD029-26
282 NXT 机械手册
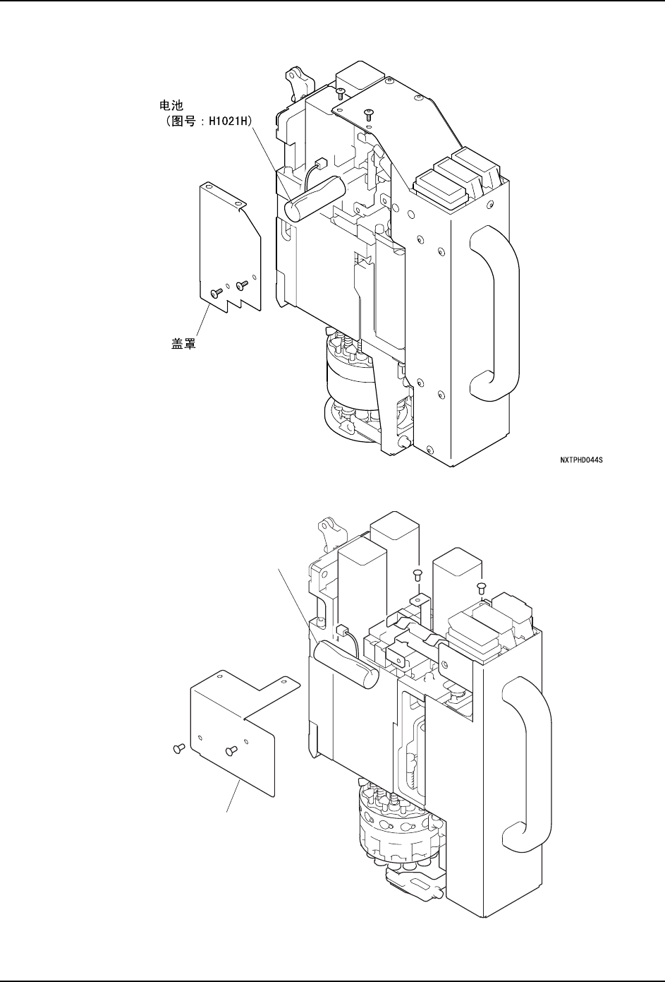
7.6 模组 CPU 箱电池
模组在即使主电源开关处于 OFF 时,也可以根据 CPU 箱内存的电池保持以下的信息。但是,
电池在已经消耗的情况下,如果将机器的主电源开关处于 OFF 时,这些信息会消失。
a. 各种固有值
·矩阵数据 ·料站倾斜数据 ·自动校正结果 ·4 吸嘴工作头用的元件相机数据
b. 模组功能设定值
c. 生产电路板信息
·生产 Job 名 ·生产信息 ·Profiler 信息 ·生产结束顺序信息
为了保持信息,请必须在进行准备操作后更换电池。
7.6.1 电池的种类
7.6.2 更换时期
电池报警时。
7.6.3 准备操作
1. 请确认是否有收存矩阵数据、料站倾斜数据、修正值数据的软盘。使用矩阵数据、料站
倾斜数据。收存有 4 吸嘴工作头用元件数据时,也使用这个数据。这个软盘附加在机器
的交货中。
备注 )在手头没有软盘时,请按照以下的操作。
将模组的矩阵数据保存到 PC 中 (详细请参考 「NXT 系统手册」)。另外,请获取模组
的料站倾斜测定数据。料站倾斜测定数据在手动模式的信息指令上可以确认。
2. 请获取模组的功能设定的内容。模组功能设定的内容可以在附加软件上确认。详细请参
考「NXT 系统手册」的「附加软件」章节的「机器设定软件」-「模组单元的功能设定」。
3. 请从贴装工作头上拆下吸嘴。
4. 如果在机器内有电路板时,请将其除去。
5. 请将与贴装工作头对应的治具安装在吸嘴更换器上。治具吸嘴的数量与吸嘴头的数量相
一致。
6. 请准备更换用电池、控制电源用的内存电阻 (电阻值 :1M Ω以上)用的腕带。
图号 H1019K
名称 电池
规格 CR2032
使用寿命 无运转 :2.8 年,每日 12 小时运转 :5.6 年