NXT 机械手册.pdf - 第206页
6. 预防保养 QD029-26 186 NXT 机械手册 6.5 每月 (700 小时 ) 的操作 6.5.1 不良元件传送带的传送带和往复臂的清扫 1. 拆除排出不良元件的传送带。( 详细请参考 " 8.3 不良元件排出单元的更换 "。) 2. 用清洁的布干擦传送带的表面。 6.5.2 料盘单元 -L 的传送带和往复臂的清扫 1. 拆除料盘单元 -L。 (详细请参考 " 5.5 料 盘单元 -L 的拆除…

QD029-26 6. 预防保养
NXT 机械手册 185
6.4.6 模组内部的清扫
1. 拉出模组。(参考 " 5.1 模组的拉出 / 插入 ")
2. 使用吸尘器吸取机器内部散乱的垃圾和杂物。
3. 如果在指定加油处以外附着润滑油,请使用干布清洁地擦去。
警告
M6S 模组刚运转后,请不要直接触摸线性马达的轴和线圈部分。有可能因高温被灼伤。
M6S 模组的线性马达有强力的磁性。使用心藏起搏器的用户,请不要接近线性马达的轴
或者线圈部分 (请离开 400mm 以上进行操作)。有可能因为磁力造成心藏起搏器的误
动。
注意
将 XY 机械手用手进行移动时,请抓住框架部分。抓住贴装工作头主体或者手柄时,请
不要对工作头施加压力。
请不要压住 X 轴的齿轮盖罩。因为齿轮盖罩有可能变形。
在 M6S 模组的线性马达附近操作时,请不要使用通常的金属工具 , 使用非磁性的工具。
在 M6S 模组的线性马达附近 (55mm 以内 ),请不要将磁卡、手表、精密仪器等靠近。有
可能因磁力而产生故障。
在进行 M6S 模组的工作头更换和维修保养操作时,请注意不要将物品碰到线性标尺上 ,
会造成损伤,如果在线性标尺上发生了伤痕或者错误时 , 有可能不能生产。那时,有
必要更换线性马达。
1;7%$66E
㒓ᗻ偀䖒㒓䚼ߚ
㒓ᗻ偀䖒䕈
0㒘
㒓ᗻᷛሎ
;䕈啓䕂Ⲫ㔽

6. 预防保养 QD029-26
186 NXT 机械手册
6.5 每月 (700 小时 ) 的操作
6.5.1 不良元件传送带的传送带和往复臂的清扫
1. 拆除排出不良元件的传送带。( 详细请参考 " 8.3 不良元件排出单元的更换 "。)
2. 用清洁的布干擦传送带的表面。
6.5.2 料盘单元 -L 的传送带和往复臂的清扫
1. 拆除料盘单元 -L。(详细请参考 " 5.5 料盘单元 -L 的拆除 "。)
2. 用清洁的布干擦传送带和往复臂皮带的表面。
6.5.3 料盘单元 -LT 的传送带和往复臂的清扫
1. 拆除料盘单元 -LT。(详细请参考 " 5.6 料盘单元 -LT 的拆除 / 安装 "。)
2. 用清洁的布干擦传送带和往复臂皮带的表面。
01MEC-0442S
ϡ㡃ܗӊӴ䗕ᏺ
ᕔ㞖Ⲃᏺ

QD029-26 6. 预防保养
NXT 机械手册 187
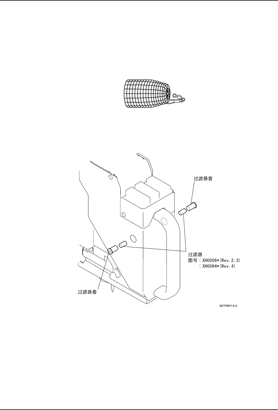
6.5.4 贴装工作头真空过滤器的清扫
〈关于清洗用网笼〉
真空过滤器的清洗使用另售的网笼操作时比较方便。放入清洗用网笼的过滤器个数如下所
示。
·H04,H08,H12(S),H12HS 工作头用过滤器 : 最大 40 个。
·H01,H02 工作头用过滤器 : 最大 20 个。
〈H01 工作头〉
1. 拆下贴装工作头。(详细请参考 " 5.7 贴装工作头的拆除 / 安装 "。)
2. 使用一字型螺丝刀,松开过滤器套并卸下过滤器。
3. 将过滤器盖罩浸在中性洗涤剂溶液中进行清洗。污垢严重时,请更换新的部件。
备注 )将收存在过滤器套中的过滤器放入用于清洗的选项网笼中 (K1325C)。请在中性洗涤
剂中浸泡 5 分钟后用超声波清洗器清洗。
NXTPHD028