RX-6_维修调整要领书.pdf - 第324页
维修调整要领书 17 - 24 17 -7- 4 IN/OUT 传 感器的更 换 1) 打开传感器放大器保护罩,板起光纤插入口附近的手柄,拔出光纤。 2) 卸下 IO 传感器托架。 3) 从 IO 传感器托架上卸下传感器。 4) 更换 IN/OUT 传感器。 5) 安装时请按相反的操作顺序进行。 ※ 投光侧请组装在距传送带轨道上面之上侧 1mm (传送加长时为 5mm )。 ※ 受光侧请组装在距传送带轨道上面之下侧 10.5mm (传送…

维修调整要领书
17-23
<第 2 轨道/第 4 轨道>
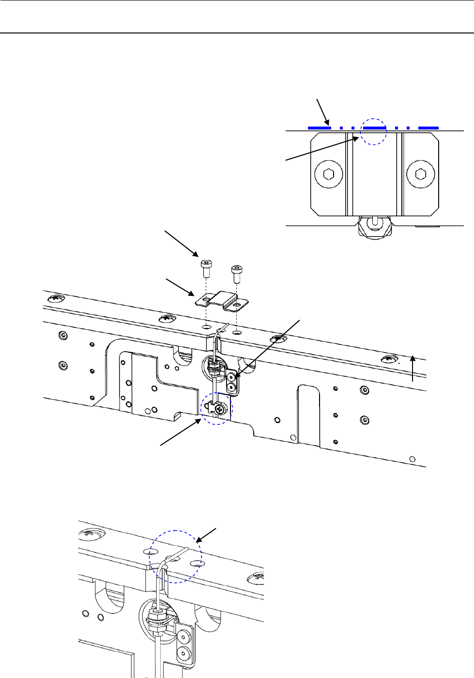
接触程度以不受到负载为宜
极低头螺栓 M3 L=5
(EZ328248101)
低头螺丝 M4 L=8
(40041221)
停止传感器护盖
固定底座
埋头螺钉 M3X0.5 L=8(SM1030801SC)
护罩端部不要从保持板端面突出
传感器前端不要从护罩突出

维修调整要领书
17-24
17-7-4
IN/OUT传感器的更换
1) 打开传感器放大器保护罩,板起光纤插入口附近的手柄,拔出光纤。
2) 卸下 IO 传感器托架。
3) 从 IO 传感器托架上卸下传感器。
4) 更换 IN/OUT 传感器。
5) 安装时请按相反的操作顺序进行。
※ 投光侧请组装在距传送带轨道上面之上侧 1mm(传送加长时为 5mm)。
※ 受光侧请组装在距传送带轨道上面之下侧 10.5mm(传送加长时为 6.5mm)。
※ 传送加长时请注意安装位置(所用分接抽头)。
6) 更换后,请进行【17-7-5 IN/OUT 传感器受光量的确认】。
前侧通道
后侧通道
投光侧
受光侧
投光侧
受光侧
受光侧
投光侧
受光侧
投光侧
投光侧
受光侧
极低头螺栓 M3 L=5
(EZ328248101)
IO 传感器托架 L
IO 传感器托架 R
1mm
10.5mm

维修调整要领书
17-25
<传送加长时>
IN/OUT 传感器(HD002850050)※投光、受光没有区別,都是相同的传感器
埋头螺丝 M3 L=6
SM1030601SC
投光侧
受光侧
使用的分接抽头
6.5mm
5mm
使用的分接抽头