RX-6_维修调整要领书.pdf - 第338页
维修调整要领书 17 - 38 传送机驱动器护罩 LR (左右 2 处) 带垫片盆头小螺丝 M3 L=6 SL4030691SC 传送机驱动器护罩 (支撑台电动机驱动器部) 电动机驱动器( HM001320000 ) 电动机驱动器( HM001320000 ) 驱动器继电器护罩 带垫片盆头小螺丝 M3 L=6 SL4030691SC 电动机驱动器( HM001320000 ) 带垫片盆头小螺丝 M3 L=16 SL4031681SC 继…

维修调整要领书
17-37
17-11
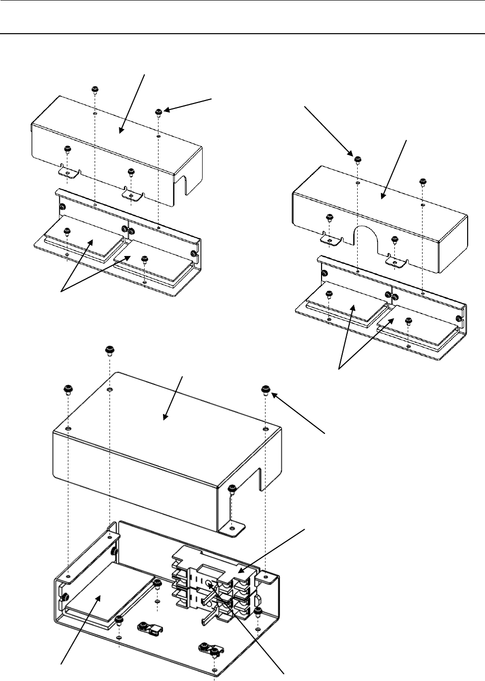
电动机驱动器和继电器的更换
1) 卸下各驱动器箱的护罩。
2) 拆下所连接的电缆连接器。
3) 卸下驱动器箱。
4) 卸下驱动器及继电器进行更换。
5) 安装时请按相反的操作顺序进行。
调整宽度电动机
(W3/W4)驱动器
支撑台电动机驱动器(前侧)
后侧通道传送电动机驱动器
前侧通道传送电动机驱动器
离合器制动装置用
继电器
支撑台电动机驱动器(后侧)
调整宽度电动机(W2)驱动器
离合器制动装置
调整宽度电动机(W3/W4)
调整宽度电动机(W2)
后侧通道传送电动机
前侧通道传送电动机

维修调整要领书
17-38
传送机驱动器护罩 LR(左右 2 处)
带垫片盆头小螺丝 M3 L=6
SL4030691SC
传送机驱动器护罩
(支撑台电动机驱动器部)
电动机驱动器(HM001320000)
电动机驱动器(HM001320000)
驱动器继电器护罩
带垫片盆头小螺丝 M3 L=6
SL4030691SC
电动机驱动器(HM001320000)
带垫片盆头小螺丝 M3 L=16
SL4031681SC
继电器(HB001250000)
・上侧:离合器用
・下侧:制动装置用

维修调整要领书
17-39
17-12
电磁阀的更换
1) 关掉主机气源。
2) 拆下与电磁阀连接的空气管子、电缆连接器。
3) 卸下电磁阀。
4) 卸下装配在电磁阀中的速度控制器、消音器等。
※ 安装时,速度控制器请安装在相同的部位。
※ A 通道、B 通道上安装的速度控制器之开闭量是不同的。
5) 更换电磁阀。
6) 安装时请按相反的操作顺序进行。
※ 请注意不要搞错连接到速度控制器的空气管子。
内六角螺栓 M4 L=25
SM6042502TN
速度控制器
消音器
塞子
弯管活接头
电磁阀组件 4 连(40164892)