00191504-01.pdf - 第608页
1 1 Állo más bõvítések/op ciók Használa ti ut asítás a SIPLACE 80S-20/F4/F4 -6/F5 ti pushoz 98/03-as k iadás az SR.404.x x szoft v er verziótó 1 1 .1 Pi pettacserélõ a 12-es re volverfej szám áral 11-6 .H]HOpVL …

Használati utasítás a SIPLACE 80S-20/F4/F4-6/F5 tipushoz 11 Állomás bõvítések/opciók
98/03-as kiadás az SR.404.xx szoftververziótól
11.1 Pipettacserélõ a 12-es revolverfej számára
11-5
$SLSHWWDOHKHO\H]pVH
- -A kulcslemez elindul
--A z-tengely lefelé halad
- -A kulcslemez bezár
- -A z-tengely felfelé halad
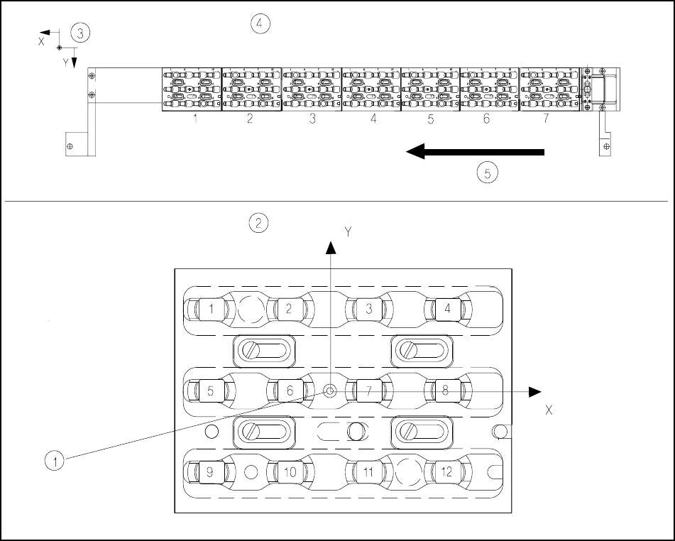
iEUD ÈWWHNLQWpVWiUpVSLSHWWDJDUi]VRN
0DJ\DUi]DWDiEUiKR]
1 Pozíciós jelölés 2 Kulcslemez
3 Pipetta garázs 4 Tár
5 Pipetta cserélõ 6 Ledobó pozíció
7 Továbbítási irány
$KLEiVSLSHWW DOHGREiVD
- -A ledobó pozícióban a z-tengely 14 mm-es löketre áll be.
- -A z-tengely felfelé emelkedik és a pipettát egy rúgós drót lehúzza a szegnyeregrõl.

11 Állomás bõvítések/opciók Használati utasítás a SIPLACE 80S-20/F4/F4-6/F5 tipushoz
98/03-as kiadás az SR.404.xx szoftververziótó
11.1 Pipettacserélõ a 12-es revolverfej számáral
11-6
.H]HOpVLXWDVtWiV
- A tárak elsõ feltöltésekor egy bizonyos pipetta típussal ragasszunk fel matricát a mind-
enkori pipetta típus jelzésével a tárra.
87$/È6
Táranként csak egy pipetta típus megengedett!
A tárakat a gépen kívül töltsük fel és mindig csak komplett tárakat cseréljünk.
- Nyissuk ki a kulcslemezt és a pipettákat tegyük bele a pipetta garázsokba.
- Zárjuk le a kulcslemezt, hogy a pipetták ne eshessenek ki a tárakból.
- A tárakat csak akkor szabad feltölteni, ha a revolverfejen minden pipetta a tárakba vis-
szahelyezésre került.
- Amennyiben a pipettacserélõ különbözõ funkcióit szeretnénk alkalmazni, akkor a 4.2.6
és aí 4.2.7 részben nézzünk ennek utána a jelen használati utasításban.
- A pipettacserélõ sorszámítógépen való programozásához nézzük meg az UNIX
sorszámítógép használati utasítását.
87$/È6
Kerüljük el, hogy elemek essenek a tárra. Ez a kulcslemez beszorulásához vezethet. Kerüljük
el, hogy elemek essenek a szabad álláshelyekre (az álláshelyek mágnesesek!). A tárakat
ezután nem
tudjuk már definiáltan az álláshelyekre helyezni. A tárakat és a szabad álláshelyeket minden
esetben rendszeresen tisztítsuk meg az oda esett elemektõl.

Használati utasítás a SIPLACE 80S-20/F4/F4-6/F5 tipushoz 11 Állomás bõvítések/opciók
98/03-as kiadás az SR.404.xx szoftververziótól
11.1 Pipettacserélõ a 12-es revolverfej számára
11-7
+H O\]HW IH O LV P HUpV
Az egyes tárakon a helyzetfelismerés céljából pozíció-jelzések találhatók.
iEUD gVV]HIJJpVSLSHWWDFVHUpO}KHO\]HWIHOLVPHUpV
0DJ\DUi]DWDiEUiKR]
1 Pozíció jelölés 2 A pipetta helyzete a tárban a pozíció
jelöléshez képest
3 A gép nullapontja 4 A pozíció jelölés helyzete a gép
nullapontjához képest
- A jelölés kezelésével kapcsolatban lásd az 5 Fejezet “Vizuális funkciókat”