2OM-1104-001.pdf - 第134页
4.3 "Screen Recog. Camera" T ab This tab sheet enables the operator to set offset values and magnifica- tions of the screen recognition camera and gain & level (contrast and brightness) of the fiducial mark…

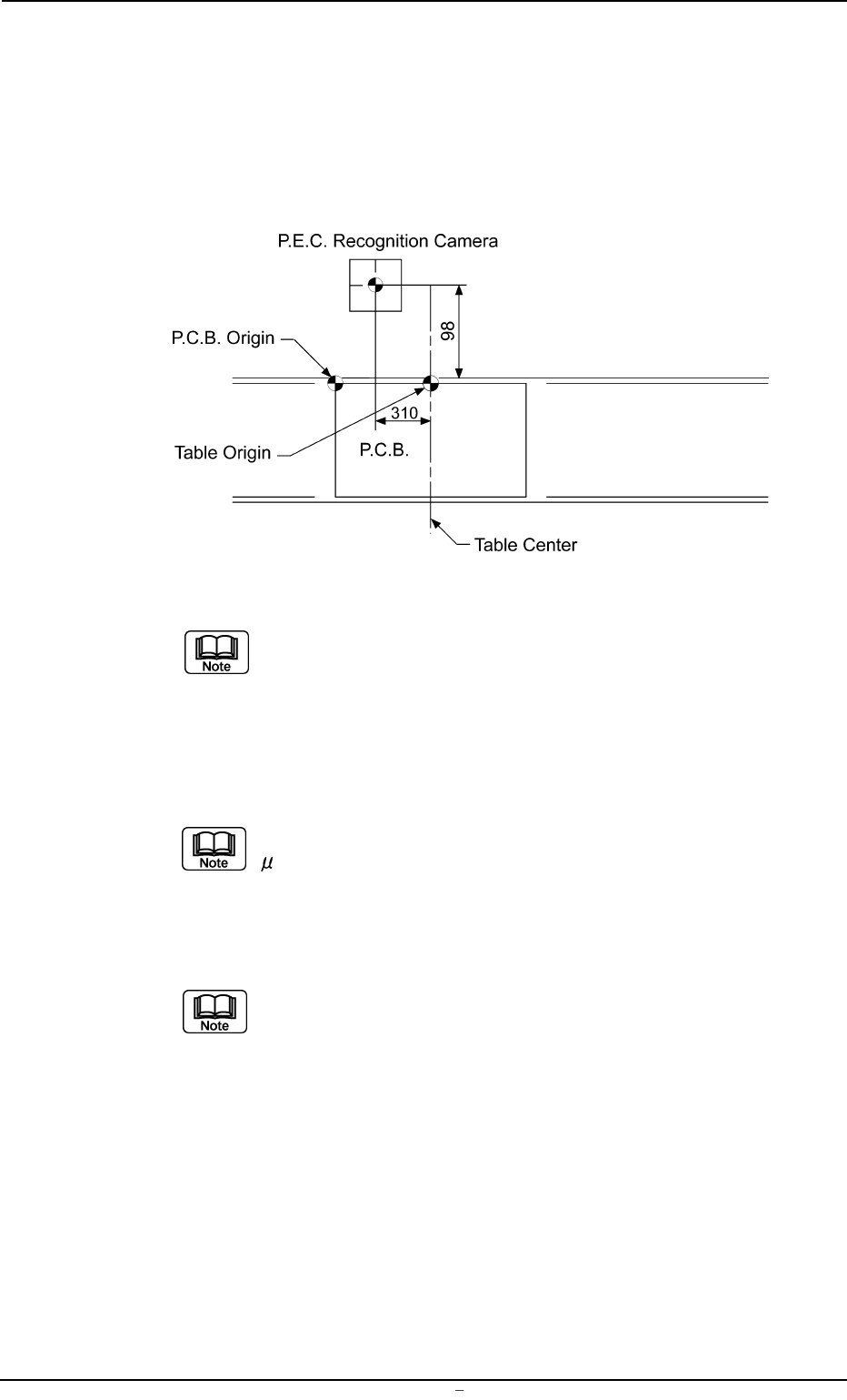
• Sheet Composition
*1 Camera Offset
Enter offset values in the text boxes, regarding the difference in
the distance and angle of each axis between the centers of the
P.E.C. recognition camera and the table chute. The entered values
are used to change the specified ones.
Fig. 3D14-1
Make the ten-key window appear and enter the offset val-
ues in the text boxes.
*2 Camera Magnification
Enter values as magnifications of the P.E.C. recognition camera in
the text boxes.
Make the ten-key window appear and enter distances (unit:
m) per pixel in the X and Y directions.
*3 Recog. Mark
Enter contrast and brightness of the fiducial mark in the text boxes.
Make the ten-key window appear and enter values as gain
and level in the text boxes.
Gain : Amplification Factor used to change the contrast
The higher the gain is, the bigger the contrast becomes.
Level : Amplification Factor used to change the brightness
The higher the level is, the brighter the whole view be-
comes.
0009-002 Chapter 1 4 26 AFU01EDTP
4.2
"
P.E.C. Recog. Camera
"
Tab

4.3 "Screen Recog. Camera" Tab
This tab sheet enables the operator to set offset values and magnifica-
tions of the screen recognition camera and gain & level (contrast and
brightness) of the fiducial mark.
• Sheet Layout
When the "Screen Recog. Camera" tab is pressed at the "OFFSET
DATA" window (submenu), the following tab sheet appears.
Fig. 3D15 "Screen Recog. Camera" Tab Sheet
4.3
"
Screen Recog. Camera
"
Tab
*4
*1
*2
*3
0009-001 Chapter 1 4 27 AFU01EDTP

• Sheet Composition
*1 Camera Offset
Enter offset values in the text boxes, regarding the difference in
the distance and angle of each axis between the centers of the
screen recognition camera and the table chute. The entered val-
ues are used to change the specified ones.
Fig. 3D15-1
Make the ten-key window appear and enter the offset val-
ues in the text boxes.
*2 Camera Magnification
Enter values as magnifications of the screen recognition camera in
the text boxes.
Make the ten-key window appear and enter distances (unit:
m) per pixel in the X and Y directions.
*3 Screen Recog. Mark
Enter brightness and contrast of the fiducial mark for screen rec-
ognition in the text boxes.
Make the ten-key window appear and enter values as gain
and level in the text boxes.
Gain : Amplification Factor used to change the contrast
The higher the gain is, the bigger the contrast becomes.
Level : Amplification Factor used to change the brightness
The higher the level is, the brighter the whole view be-
comes.
4.3
"
Screen Recog. Camera
"
Tab
0106-002 Chapter 1 4 28 AFU01EDTP