2OM-1104-001.pdf - 第18页
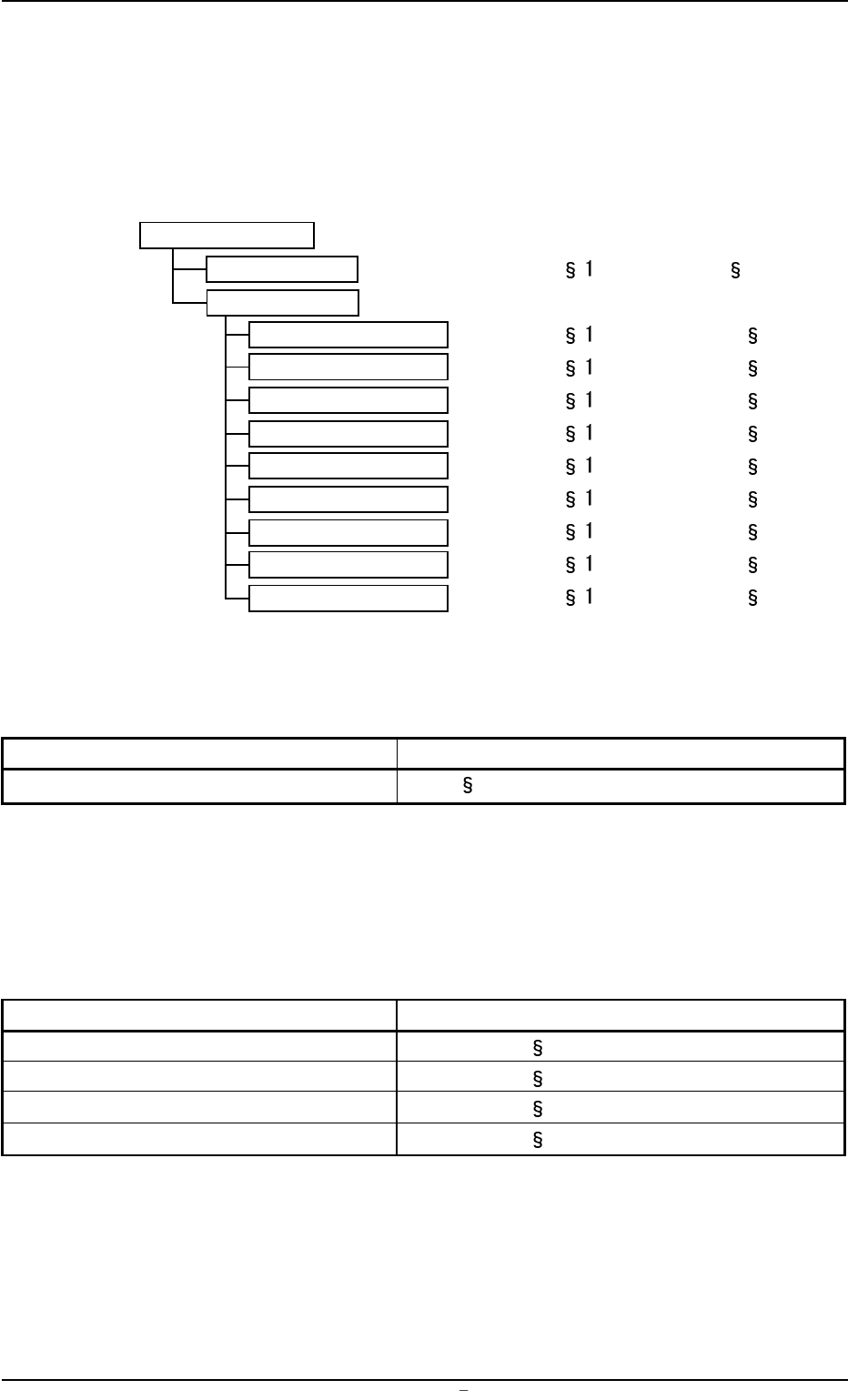
1.1 Pattern Program The pattern program is composed of the following data. Refer to "1. Pattern Program" in "Section 2" for details. Summarized Items Detailed Items Pattern Program Model Name 1.1.1 in…

1. Scope of Data
Various data is used as follows.
Please fully understand the purposes of each data for better perfor-
mance of the machine.
Fig. 3A1
0004-001 Chapter 1 1 2 AFU01EDTP
1. Scope of Data

1.1 Pattern Program
The pattern program is composed of the following data.
Refer to "1. Pattern Program" in "Section 2" for details.
Summarized Items Detailed Items
Pattern Program
Model Name 1.1.1 in 1.1 in 2
Operation Data
P.C.B. Data 1.2.1 in 1.2.1 in 2
Print Data 1.2.2 in 1.2.2 in 2
P.C.B. Backup 1.2.3 in 1.2.3 in 2
PEC Recognition 1.2.4 in 1.2.4 in 2
Screen Recognition 1.2.5 in 1.2.5 in 2
Mark Data 1.2.6 in 1.2.6 in 2
Setup Data 1.2.7 in 1.2.7 in 2
Auto Stop 1.2.8 in 1.2.8 in 2
Cleaning 1.2.9 in 1.2.9 in 2
1.1.1 Pattern Program Name
Table 3A1
Data Item Referential Item
Model Name 1.1 in
2
1.2 Operation Data
1.2.1 P.C.B. Data
Table 3A2
Data Item Referential Items
P.C.B. Size (1) in 1.2.1 of
2
P.C.B. Origin Offset (2) in 1.2.1 of
2
Operatio Mode (3) in 1.2.1 of
2
Print Area (4) in 1.2.1 of
2
1.1 Pattern Program
0009-002 Chapter 1 1 3 AFU01EDTP

1.2.2 Print Data
Table 3A3
Data Item Referential Items
Screen Basis (1) in 1.2.2 of
2
Round-Way Printing (2) in 1.2.2 of
2
Frame Select (3) in 1.2.2 of
2
Printing Pressure [N] (4) in 1.2.2 of
2
Squeegee Select (5) in 1.2.2 of
2
Squeegee Speed (6) in 1.2.2 of
2
Screen Distance (7) in 1.2.2 of
2
Separation Mode (8) in 1.2.2 of
2
Separation Speed [mm/s] (9) in 1.2.2 of
2
Separation Acceleration [mm/s
2
] (10) in 1.2.2 of 2
Separate Distance [mm] (11) in 1.2.2 of
2
Printing Correction (Back) (12) in 1.2.2 of
2
Printing Correction (For.) (13) in 1.2.2 of
2
Screen Offset [mm] (14) in 1.2.2 of
2
1.2.3 PCB Backup
Table 3A4
Data Item Referential Items
Chuck Stage Select (1) in 1.2.3 of
2
PCB Warpage Protection (2) in 1.2.3 of
2
Vacuum Release Mode (3) in 1.2.3 of
2
Vacuum Release Wait Time [sec] (4) in 1.2.3 of
2
PCB Clamp Offset (5) in 1.2.3 of
2
P.C.B. Stopper Offset Y [mm] (6) in 1.2.3 of
2
P.C.B. Cut Offset [mm] (7) in 1.2.3 of
2
1.2.4 PEC Recognition
Table 3A5
Data Item Referential Items
P.E.C. Recognition Function (1) in 1.2.4 of
2
Center Recognition (2) in 1.2.4 of
2
Fiducial Mark #1 (3) in 1.2.4 of
2
Fiducial Mark #2 (4) in 1.2.4 of
2
Recognition Adjustment Correction (5) in 1.2.4 of
2
Recognition Adjustment Point X and Y (6) in 1.2.4 of
2
1.2 Offset Data
0106-002 Chapter 1 1 4 AFU01EDTP