SI-F130_操作说明.pdf - 第510页
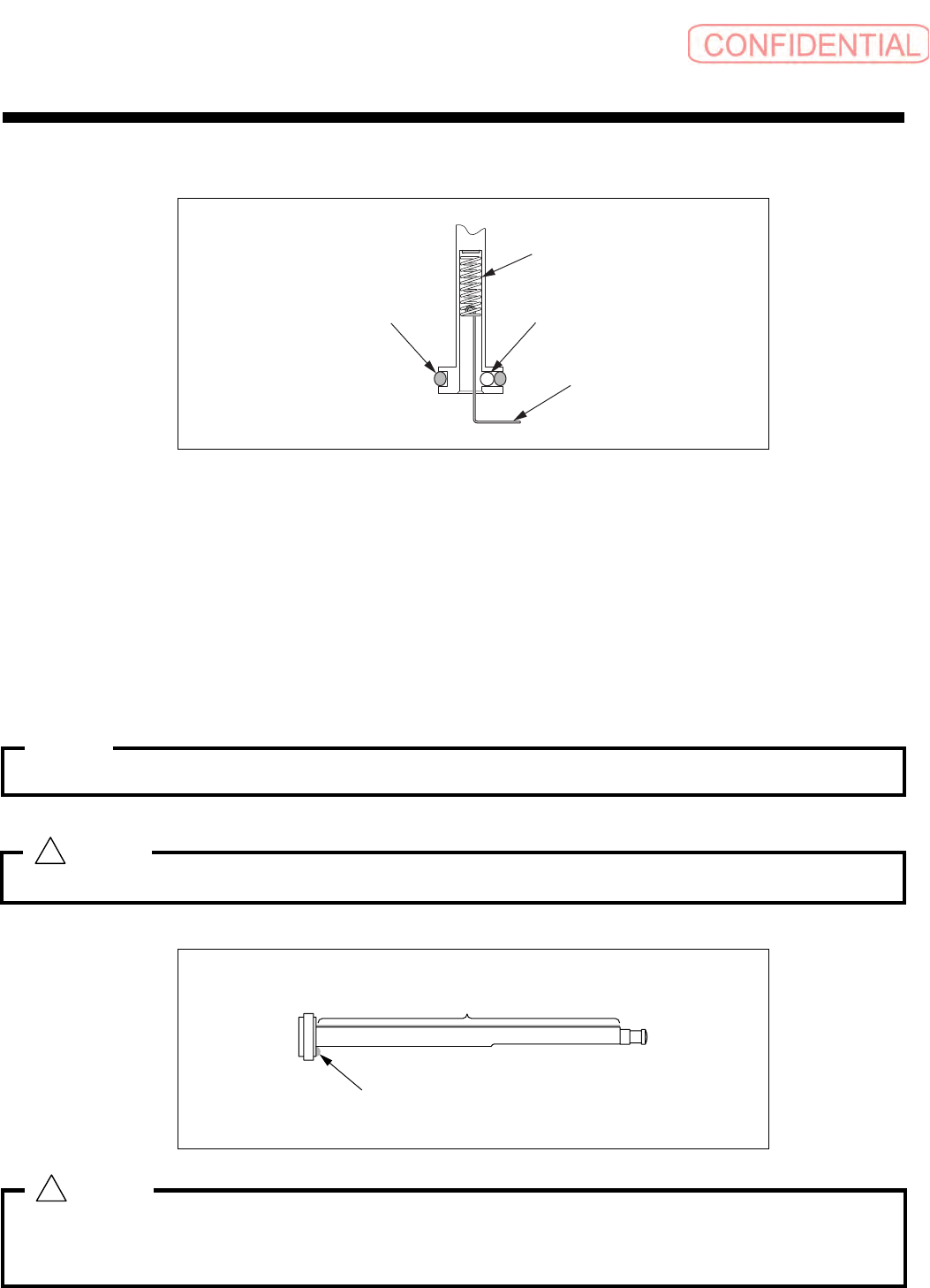
保养篇 2. 维修检查 2-56 SI-F130 16. 在内部旋转轴上安装 内部旋转轴回复弹簧。 17. 在内部旋转轴 上安装内部旋转轴弹簧押头 。安上调节螺丝 (H2 × 2 根 ) ,用扭矩 1.5kgf · cm 拧紧。 18. 用手按住内部 旋转轴,确认其能自由活动 。 19. 安装吸嘴。 注意沟槽方向 ! 内部转轴弹簧押头 内部转轴回复弹簧 (2 个种类 )

保养篇
保养篇保养篇
保养篇
2. 维修检查
SI-F130
2-55
7. 用带钩细金属线,将吸嘴弹簧取出。
8. 在内部旋转轴上喷清洁的空气喷气雾,上面涂润滑油。
润滑油:多用润滑油
( 美国 Wynn Oil Company 制 )
9.
在不取下硅酮环的状态下,用手塞进弹簧,将新吸嘴弹簧装进内部旋转轴。
10. 在
φ
2 的钢球上涂一薄层润滑油,放入内部旋转轴孔里。
11. 一边注意不要让放入内部旋转轴的钢球掉下,一边装入
φ
5.3 的 O 型环。
12. 在内部旋转轴上喷清洁空气喷气雾,在内部旋转轴表面和沟槽部分涂上润滑油。
13. 用清洁抹布将涂在上面的润滑油弄薄,擦去多余润滑油。
14. 像往孔里放外部旋转轴的钢球那样,将内部旋转轴插入吸嘴头里。
如果残留多余润滑油,附着在基板和零件上导致产品质量问题,所以一定要擦除多余润滑油。
一旦卸下硅酮环,容易发生龟裂,所以不要让硅环脱落。卸下后要用新品更换。
·如果在内轴
A
部涂过多滑脂,会发生高速摩擦问题,从而导致无法吸着。关于润滑油涂抹量,
要保证涂抹后看不出润滑油颜色。
·在内轴
B
部涂润滑油时,要保证涂后可以看见润滑油颜色。
吸嘴弹簧
2mm 刚球
细金属线
硅酮环
注意
注意注意
注意 :
B 部
A 部
警告
警告警告
警告 :
!
警告
警告警告
警告 :
!

保养篇
2. 维修检查
2-56
SI-F130
16.
在内部旋转轴上安装内部旋转轴回复弹簧。
17. 在内部旋转轴上安装内部旋转轴弹簧押头。安上调节螺丝 (H2 × 2 根 ),用扭矩
1.5kgf· cm 拧紧。
18. 用手按住内部旋转轴,确认其能自由活动。
19. 安装吸嘴。
注意沟槽方向 !
内部转轴弹簧押头
内部转轴回复弹簧
(2 个种类 )

保养篇
保养篇保养篇
保养篇
2. 维修检查
SI-F130
2-57
每 6 个月
(9) 2mm 的陶瓷球交换 ( 外部旋转轴侧 )
[
作业顺序 ]
1. 为了不弄丢 2mm 陶瓷球,在吸嘴头下面,准备白色抹布。
2. 用手抬起螺帽同时,取出 2mm 陶瓷球。
3. 在新 2mm 陶瓷球上,涂上多用润滑油。
4. 在竹竿前端涂上多用润滑油,安上新 2mm 陶瓷球。
5. 用手抬起螺帽的同时,插入附着在竹竿上的 2mm 陶瓷球。
6. 将螺帽插入外部旋转轴。
7. 确认内部旋转轴上下自由。
请确认外部旋转轴的陶瓷球放入了内部旋转轴孔里。
请一定要让内部旋转轴弹簧押头碰到底端安装,如果在中间位置,就会与
H
轴推杆相干扰,
导致吸着率恶化和装着歪斜。
(-) 螺丝刀
竹竿
多用润滑油
注意
注意注意
注意 :
警告
警告警告
警告 :
!