NXT2机械手册.pdf - 第101页
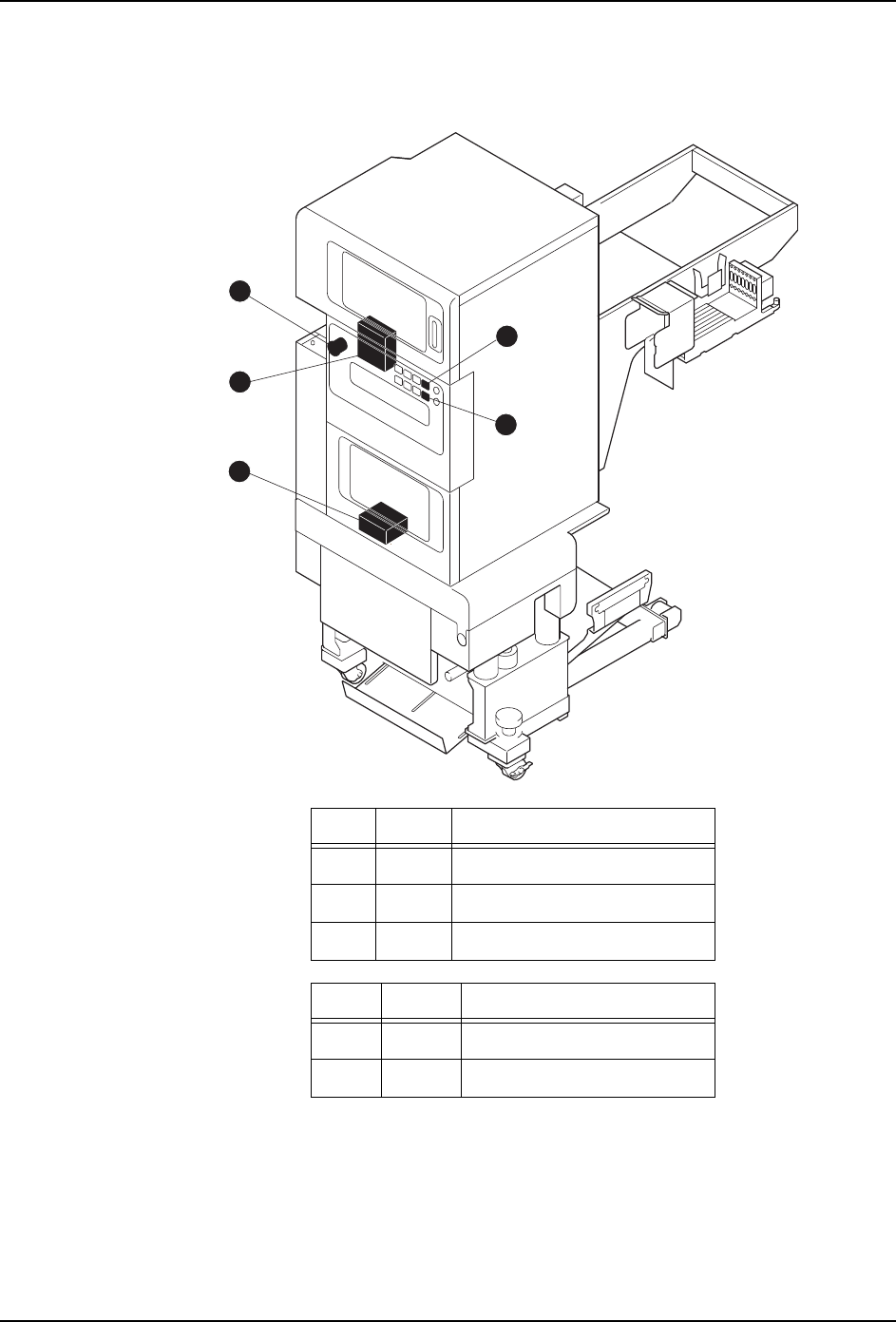
QD145-13 4. 传感器配置图 NXT II 机械手册 77 4.15 料盘单元 -LT 传感器 4.15.1 安全门 No. 地址 信号名 1 IN00 紧急停止 SW 2 IN06 上部料盘箱安全门关闭确认 3 IN07 下部料盘箱安全门关闭确认 No. 地址 信号 名 4 X206 上部料盘箱结束 PB 输入 5 X209 下部料盘箱结束 PB 输入 01MEC-0222a 2 1 3 4 5 T ray unit-L T

4. 传感器配置图 QD145-13
76 NXT II 机械手册
4.14.5 吸取器
No. 地址 信号名
1 IN10 空料盘吸取状态确认
2 IN23 吸取器升降台上升确认
3 IN24 吸取器升降台下降确认
4 IN26 吸取器有无
5 OUT23 吸取器升降台上下
6 OUT27 吸器器真空 ON
NXTMTU105
2
3
5
6
4
1

QD145-13 4. 传感器配置图
NXT II 机械手册 77
4.15 料盘单元 -LT 传感器
4.15.1 安全门
No. 地址 信号名
1 IN00 紧急停止 SW
2 IN06 上部料盘箱安全门关闭确认
3 IN07 下部料盘箱安全门关闭确认
No. 地址 信号名
4 X206 上部料盘箱结束 PB 输入
5 X209 下部料盘箱结束 PB 输入
01MEC-0222a
2
1
3
4
5
Tray unit-LT

4. 传感器配置图 QD145-13
78 NXT II 机械手册
4.15.2 料盘塔
No. 地址 信号名
1 IN1F 下部料盘箱锁定确认
2 IN1E 上部料盘箱锁定确认
3 IN1C 上部料盘箱设置确认
4 IN1D 下部料盘箱锁定确认
5 IN22 上部料盘箱料盘高度确认 (左)
6 IN23 上部料盘箱料盘高度确认 (右)
7 IN24 下部料盘箱料盘高度确认 (左)
8 IN25 下部料盘箱料盘高度确认 (右)
9 IN21 托架收存确认
10 IN20 料盘箱干涉确认
01MEC-0223
1
2
Tray unit-LT
5
6
7
8
9
9
9
3
4
10