NXT2机械手册.pdf - 第330页
6. 预防保养 QD145-13 306 NXT II 机械手册 〈TY 轴皮带张力〉( 驱动部 ) 1. 请测定皮带的张力。确认皮带中央的测定值是 363.0±20.0Hz。 2. 测定值超过上述的范围时请调整皮带张力 。 请拧松马达的固定螺栓后,旋转调 整螺栓进行调整。 ᅮ㶎ᷧ 䇗ᭈ㶎ᷧ 1;70786

QD145-13 6. 预防保养
NXT II 机械手册 305
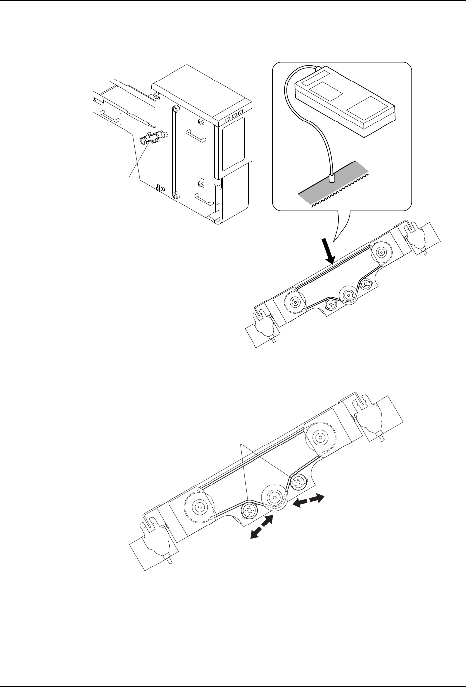
〈TY 轴皮带张力〉( 离合器部 )
1. 请测定皮带的张力。确认在跨度最长的皮带中央的测定值是 225.0±20.0Hz。
2. 测定值超过上述的范围时请调整皮带张力。
请移动张紧轮进行调整。
r+]
7<䕈Ⲃᏺ
1;70786
1;70786
ᓴ㋻䕂

6. 预防保养 QD145-13
306 NXT II 机械手册
〈TY 轴皮带张力〉( 驱动部 )
1. 请测定皮带的张力。确认皮带中央的测定值是 363.0±20.0Hz。
2. 测定值超过上述的范围时请调整皮带张力。
请拧松马达的固定螺栓后,旋转调整螺栓进行调整。
ᅮ㶎ᷧ
䇗ᭈ㶎ᷧ
1;70786

QD145-13 6. 预防保养
NXT II 机械手册 307
6.11 不定期操作
6.11.1 元件搬运轨道上的元件回收(元件排出皮带、料盘单元 -L/LT/LTC)
适时
不良元件的回收在自动运转中也可以进行。因为元件装满的原因而停止时,请回收元件后重
新运转。
1. 请使用真空吸笔套件,回收在搬运轨道上的不良元件。
6.11.2 空料盘的回收 (料盘单元 -L)
适时
1. 请回收排出的空料盘。
备注 )
1.在设置空料盘箱和挡板的时候,无论何种情况请都用手回收。即使在自动运转中也可
回收空料盘。
2.松开挡板后面的固定螺丝后可以将挡板进行前后滑动。请根据需要调整使用。
1;7078
1;7078D6
ぎ᭭Ⲭ
ᣵᵓ
ぎ᭭Ⲭㆅ
ぎ᭭Ⲭ
1;70786
ᅮ㶎ϱ
ᣵᵓ