NXT2机械手册.pdf - 第327页
QD145-13 6. 预防保养 NXT II 机械手册 303 驱动轴的加油 7. 用清洁的布,擦去驱动轴的污垢。 8. 取 0.375cc 的 Daphne E xponex No.2 到毛 刷上。 9. 滑动驱动轴,用毛刷涂敷指定的润滑油 。 10.滑动驱动轴,使润 滑油循环。 11.擦去渗出的多余的 润滑油。 12.安装料盘单元 -M 的盖罩 。 6.10.24 料盘单元 -M 皮带张力的检查 · 调整 在确认皮带张力时,请预先…

6. 预防保养 QD145-13
302 NXT II 机械手册
6.10.23 料盘单元 -M (料盘定位销)的加油
备注 )Fuji 润滑油枪套件的润滑油枪 1 次喷射量约 0.6cc。请作为加油的参考值。
1. 将料盘单元 -M 从模组上拆下来。( 详细请参考 「5.11 料盘单元 -M 的安装 / 拆除」)
2. 拆除料盘单元 -M 的盖罩。
定位销 (10 处)的加油
3. 用清洁的布,擦去定位销的污垢。
4. 取 0.115cc 的 Daphne Exponex No.2 到毛刷上。
5. 请对定位销 (不接触料盘的一侧)用毛刷涂敷指定的润滑油。
6. 用清洁的布,擦去渗出的多余的润滑油。
润滑油 加油处 加油量 (cc)
Daphne Exponex No.2( 出光 ) 料盘定位销 0.115
料盘定位销驱动轴 0.375
01MEC-0425Sa
Ⲫ㔽
᭭ⲬㆅⲂᏺ
᭭Ⲭ
䇋㭘㭘ഄϡ㾺᭭Ⲭⱘϔջ䖯㸠⍖ᭋDŽ
0(&6

QD145-13 6. 预防保养
NXT II 机械手册 303
驱动轴的加油
7. 用清洁的布,擦去驱动轴的污垢。
8. 取 0.375cc 的 Daphne Exponex No.2 到毛刷上。
9. 滑动驱动轴,用毛刷涂敷指定的润滑油。
10.滑动驱动轴,使润滑油循环。
11.擦去渗出的多余的润滑油。
12.安装料盘单元 -M 的盖罩。
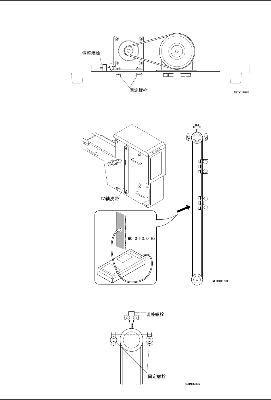
6.10.24 料盘单元 -M 皮带张力的检查 · 调整
在确认皮带张力时,请预先准备张力计。另外,请拆除料盘单元 -M。( 详细请参考 「5.11
料盘单元 -M 的安装 / 拆除」。)
〈TZ 轴皮带张力 (驱动部位)〉
1. 请测定皮带的张力。确认在跨距最长的皮带中央的测定值是 245.0±10.0Hz。
0(&6
ᅮԡ䫔
偅ࡼ䕈

6. 预防保养 QD145-13
304 NXT II 机械手册
2. 测定值超过上述的范围时请调整皮带张力。拧松马达的固定螺栓后,旋转调整螺栓进行
调整。
〈TZ 轴皮带张力〉( 料盘箱升降部 )
1. 请测定皮带的张力。确认在跨距最长的皮带中央的测定值是 60.0±3.0Hz。
2. 测定值超过上述的范围时请调整皮带张力。
请松开张紧轮的固定螺栓后,旋转调整螺栓进行调整。