NXT2机械手册.pdf - 第106页
4. 传感器配置图 QD145-13 82 NXT II 机械手册 4.16.2 料盘塔 No. 地 址 信号名 1 IN1F 下部料盘箱锁定确认 2 IN1E 上部料盘箱锁定确认 3 IN1C 上部料盘箱锁定确认 4 IN1D 下部料盘箱锁定确认 5 IN22 上部料盘箱料盘高度确认 6 IN24 下部料盘箱料盘高度确认 7 IN21 托架收存确认 8 IN20 料盘箱干涉确认 9 - 往复臂料盘高度监视 (中) 10 - 往复臂料盘…

QD145-13 4. 传感器配置图
NXT II 机械手册 81
4.16 料盘单元 -LTC 传感器
4.16.1 安全门
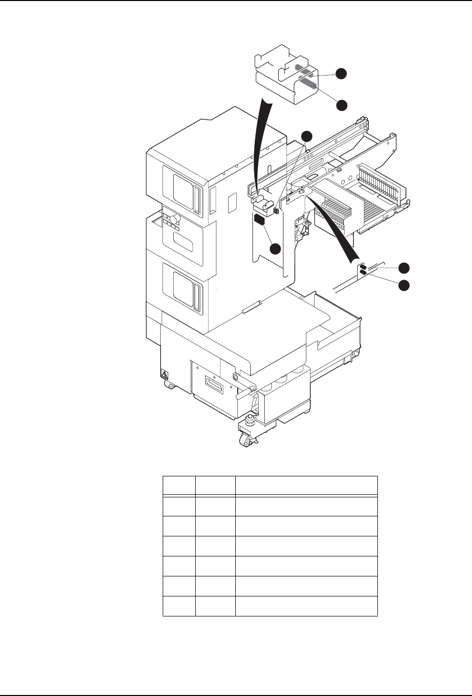
No. 地址 信号名
1 IN00 紧急停止 SW
2 IN06 上部料盘箱安全门关闭确认
3 IN07 下部料盘箱安全门关闭确认
No. 地址 信号名
4 X206 上部料盘箱结束 PB 输入
5 X209 下部料盘箱结束 PB 输入
01MEC-0501a
2
1
3
4
5
Tray unit-LTC

4. 传感器配置图 QD145-13
82 NXT II 机械手册
4.16.2 料盘塔
No. 地址 信号名
1 IN1F 下部料盘箱锁定确认
2 IN1E 上部料盘箱锁定确认
3 IN1C 上部料盘箱锁定确认
4 IN1D 下部料盘箱锁定确认
5 IN22 上部料盘箱料盘高度确认
6 IN24 下部料盘箱料盘高度确认
7 IN21 托架收存确认
8 IN20 料盘箱干涉确认
9 - 往复臂料盘高度监视 (中)
10 - 往复臂料盘高度监视 (下)
01MEC-0502a
1
2
9
10
Tray unit-LTC
5
6
7
7
3
4
8

QD145-13 4. 传感器配置图
NXT II 机械手册 83
4.16.3 往复臂
No. 地址 信号名
1 OUT20 往复臂开关夹紧
2 IN10 往复臂后退端
3 IN12 往复臂打开确认
4 IN11 往复臂夹紧确认
5 IN14 往复臂料盘高度监视 (中)
6 IN13 往复臂料盘高度监视 (下)
01MEC-0503a
1
2
3
4
Tray unit-LTC
6
5