NXT2机械手册.pdf - 第273页
QD145-13 6. 预防保养 NXT II 机械手册 249 〈M6-2 模组时〉 备注 )Fuji 润滑油枪套件的润滑油枪 1 次喷射量约 0.6cc。请作为加油的参考值。 表中的加油量是对于 1 根滚珠丝杆、1 个 LM 导轨滑块的加油量。 1. 拉 出模组。 (参考 「5.1 模组 的拉出 / 插入」 ) 2. 将 主电源开关 OFF 。 3. 线性马达的轴处于常温后,请安装保护盖 罩。 X 轴的加油 4. 请用清洁的布,擦去…

6. 预防保养 QD145-13
248 NXT II 机械手册
XS 轴的加油
12.请用清洁的布擦去 XS 轴 (4) 滚珠丝杆的污垢。
13.同样,请擦去 XS 轴的 LM 导轨的污垢。
14.请取 0.3cc 的 NS7 或者 SRL 到毛刷上。
15.请用毛刷把润滑油均匀地涂敷到 XS 轴滚珠丝杆 (4)上。
16.请使用润滑油枪对 XS 轴 LM 导轨的油嘴 (5) 各加 1.2cc 的 NS7 或者 SRL。
17.请用清洁的布擦去渗出的润滑油。
18.请用手动将 X 轴单元进行 10 个全程往复,使润滑油循环。
19.再次将从滚珠丝杆 ·LM 导轨处渗出的润滑油擦去。
Y 轴的加油
20.同样,请擦去 LM 导轨的污垢。
21.请使用润滑油枪对 Y 轴 LM 导轨 (3) 加 2 喷射量的指定润滑油。
22.请用清洁的布擦去渗出的润滑油。
23.请用手动将 Y 轴单元进行 10 个全程往复,使润滑油循环。
24.再次将从滚珠丝杆 ·LM 导轨处渗出的润滑油擦去。
25.加润滑油后,请确认元件相机表面、吸嘴置放台、搬运轨道、Y 轴线性标尺等没有附着
润滑油。如果附着润滑油,请用干净的没有线脚的干布擦去。
注意 )擦去的时候,请不要用力过度以免损伤单元。
26.请取下线性马达轴的保护盖板。
27.插入模组。(参考 「5.1 模组的拉出 / 插入」)
注意
将 XY 机械手用手进行移动时,请抓住框架部分。抓住贴装工作头主体或者手柄时,请
不要对工作头施加压力。
请不要按压 X 轴齿轮盖罩。齿轮盖罩有可能变形。
注意
将 XY 机械手用手进行移动时,请抓住框架部分。抓住贴装工作头主体或者手柄时,请
不要对工作头施加压力。
请不要按压 X 轴齿轮盖罩。齿轮盖罩有可能变形。

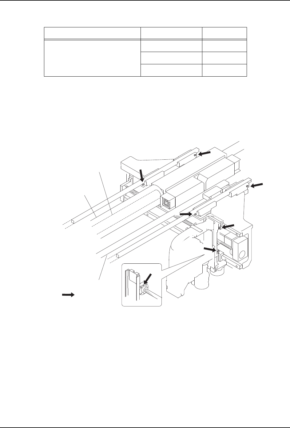
QD145-13 6. 预防保养
NXT II 机械手册 249
〈M6-2 模组时〉
备注 )Fuji 润滑油枪套件的润滑油枪 1 次喷射量约 0.6cc。请作为加油的参考值。
表中的加油量是对于 1 根滚珠丝杆、1 个 LM 导轨滑块的加油量。
1. 拉出模组。(参考 「5.1 模组的拉出 / 插入」)
2. 将主电源开关 OFF。
3. 线性马达的轴处于常温后,请安装保护盖罩。
X 轴的加油
4. 请用清洁的布,擦去 X 轴滚珠丝杆的污垢。
5. 同样,擦去X轴LM导轨的污垢。
6. 请使用润滑油枪将 X 轴滚珠丝杆的油嘴 (1) 加 0.3cc 的 NS7 或者 SRL。
7. 用清洁的布,擦去渗出的多余润滑油。
8. 请使用润滑油枪将X轴LM导轨的油嘴(2)各加0.9cc 的 NS7 或者 SRL。
9. 用清洁的布,擦去渗出的多余润滑油。
润滑油 加油处 加油量 (cc)
NS7(NSK) 或者 SRL (协同油脂) (1) X 轴滚珠丝杆 0.3
(2) X 轴 LM 导轨 0.6
(3) Y 轴 LM 导轨 0.6
01MEC-0420Sb
2
2
1
3
3
3
3
㒓ᗻᷛሎ
Փ⫼⍺⒥⊍ᵾ
㒓ᗻ偀䖒䕈
ֱᡸⲪ㔽

6. 预防保养 QD145-13
250 NXT II 机械手册
10.用手动将贴装工作头 (X 轴单元 ) 进行 10 次全程往复,使润滑油循环。
11.再次擦去从滚珠丝杆 ·LM 轨道渗出的润滑油。
Y 轴的加油
12.用清洁的布,擦去从 Y 轴 LM 轨道渗出的润滑油。
13.请使用润滑油枪将 Y 轴 LM 导轨的油嘴 (2) 各加 0.9cc 的 NS7 或者 SRL。
14.用清洁的布,擦去渗出的多余润滑油。
15.用手动将 Y 轴单元进行 10 次全程往复,使润滑油循环。
16.再次擦去从 LM 轨道渗出的润滑油。
17.加润滑油后,请确认元件相机表面、吸嘴置放台、搬运轨道、Y 轴线性标尺、共面性传
感器用线性标尺等没有附着润滑油。如果附着润滑油,请用干净的没有线脚的干布擦去。
注意 )擦去的时候,请不要用力过度以免损伤单元。
18.请取下线性马达轴的保护盖板。
19.插入模组。(参考 「5.1 模组的拉出 / 插入」)
注意
将 XY 机械手用手进行移动时,请抓住框架部分。抓住贴装工作头主体或者手柄时,请
不要对工作头施加压力。
请不要按压 X 轴齿轮盖罩。齿轮盖罩有可能变形。
注意
将 XY 机械手用手进行移动时,请抓住框架部分。抓住贴装工作头主体或者手柄时,请
不要对工作头施加压力。
请不要按压 X 轴齿轮盖罩。齿轮盖罩有可能变形。
01MEC-0970S
㒓ᗻ偀䖒䕈
݅䴶ᗻӴᛳ఼⫼㒓ᗻᷛሎ
㒓ᗻᷛሎ