NXT2机械手册.pdf - 第103页
QD145-13 4. 传感器配置图 NXT II 机械手册 79 4.15.3 往复臂 No. 地址 信号名 1 OUT20 往复臂开关夹紧 2 IN10 往复 臂后退端 3 IN12 往复 臂打开确认 4 IN11 往复 臂夹紧确认 5 IN2E 元件 废弃箱落座确认 6 IN13 往复 臂料盘高度监视 (下) 6 IN14 往复 臂料盘高度监视 (中) 7 IN15 往复 臂料盘高度监视 (上) 01M E C - 022 4 a…

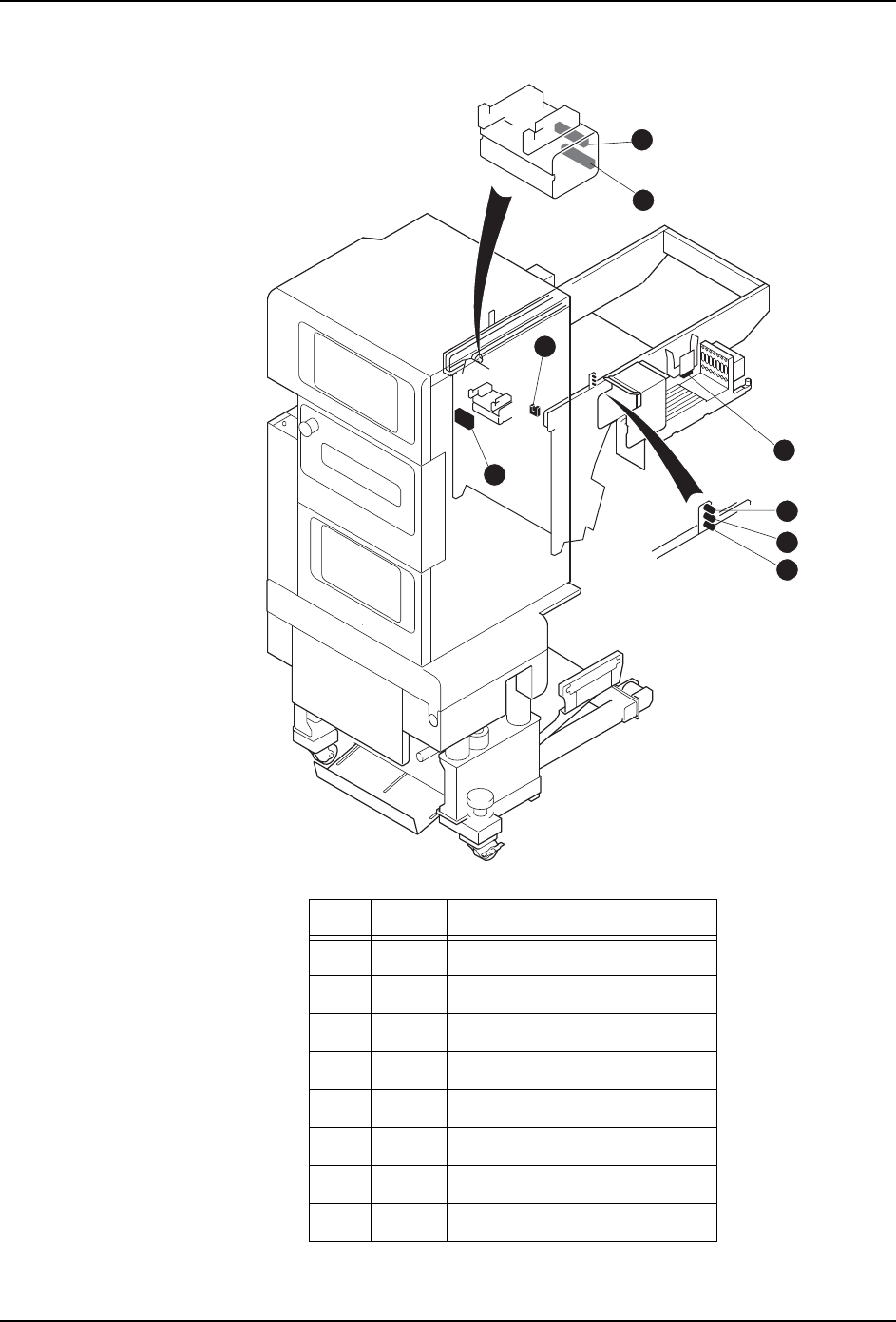
4. 传感器配置图 QD145-13
78 NXT II 机械手册
4.15.2 料盘塔
No. 地址 信号名
1 IN1F 下部料盘箱锁定确认
2 IN1E 上部料盘箱锁定确认
3 IN1C 上部料盘箱设置确认
4 IN1D 下部料盘箱锁定确认
5 IN22 上部料盘箱料盘高度确认 (左)
6 IN23 上部料盘箱料盘高度确认 (右)
7 IN24 下部料盘箱料盘高度确认 (左)
8 IN25 下部料盘箱料盘高度确认 (右)
9 IN21 托架收存确认
10 IN20 料盘箱干涉确认
01MEC-0223
1
2
Tray unit-LT
5
6
7
8
9
9
9
3
4
10

QD145-13 4. 传感器配置图
NXT II 机械手册 79
4.15.3 往复臂
No. 地址 信号名
1 OUT20 往复臂开关夹紧
2 IN10 往复臂后退端
3 IN12 往复臂打开确认
4 IN11 往复臂夹紧确认
5 IN2E 元件废弃箱落座确认
6 IN13 往复臂料盘高度监视 (下)
6 IN14 往复臂料盘高度监视 (中)
7 IN15 往复臂料盘高度监视 (上)
01MEC-0224a
1
2
6
7
8
3
4
5
Tray unit-LT

4. 传感器配置图 QD145-13
80 NXT II 机械手册
4.15.4 元件搬运轨道
No. 地址 信号名
1 IN02 JOG 模式
2 IN04 不良元件排出许可确认 (旁侧)
3 IN03 不良元件排出许可确认 (中央)
4 IN05 不良元件 C/V 送料记数
1
2
3
4
Tray unit-LT
01MEC-0225