NXT2机械手册.pdf - 第259页
QD145-13 6. 预防保养 NXT II 机械手册 235 X 轴的加油 4. 拆除 X 轴齿轮的盖罩。 5. 请用清洁的布,擦去 X 轴齿轮的污垢。 6. 取 0.5cc 的 Mobilith S HC460WT(Mobil) 到刷子上。 7. 用刷子将润滑油均匀地涂敷到 XS 轴齿轮 (2) 上。 8. 用手动将贴装工作头 (X 轴单元 ) 进行 10 次全程往复,使润滑油循 环。 9. 用清洁的布,擦去渗出的多余润滑油。 1…

6. 预防保养 QD145-13
234 NXT II 机械手册
9. 请用清洁的布擦去渗出的多余润滑油。
XS 轴的加油
10.请用清洁的布擦去 XS 轴齿轮 (2) 的污垢。
11.取 0.5cc 的 Mobilith SHC460WT(Mobil) 到刷子上。
12.用刷子将润滑油均匀地涂敷到 XS 轴齿轮 (2) 上。
13.请用手动将 XS 轴单元进行 10 个全程往复,使润滑油循环。
14.请用清洁的布擦去渗出的润滑油。
15.安装 X 轴齿轮盖罩和 XS 轴齿轮盖罩。
16.加润滑油后,请确认元件相机表面、吸嘴置放台、搬运轨道、Y 轴线性标尺等没有附着
润滑油。如果附着润滑油,请用干净的没有线脚的干布擦去。
注意 )擦去的时候,请不要用力过度以免损伤单元。
17.请取下线性马达轴的保护盖板。
18.插入模组。(参考 「5.1 模组的拉出 / 插入」)
〈M6-2 模组时〉
备注 )Fuji 润滑油枪的润滑油一次喷射量是 0.6cc,请作为加油量的参考值。
1. 拉出模组。(参考 「5.1 模组的拉出 / 插入」)
2. 将主电源开关 OFF。
3. 线性马达的轴处于常温后,请安装保护盖罩。
请不要按压 X 轴齿轮盖罩。齿轮盖罩有可能变形。
注意
注意
将 XY 机械手用手进行移动时,请抓住框架部分。抓住贴装工作头主体或者手柄时,请
不要对工作头施加压力。
请不要按压 X 轴齿轮盖罩。齿轮盖罩有可能变形。
润滑油 加油处 加油量标准 (1 处) 加油量 (cc)
Mobilith SHC460WT(Mobil) (1) X 轴齿轮 喷射器 1 喷射 0.5

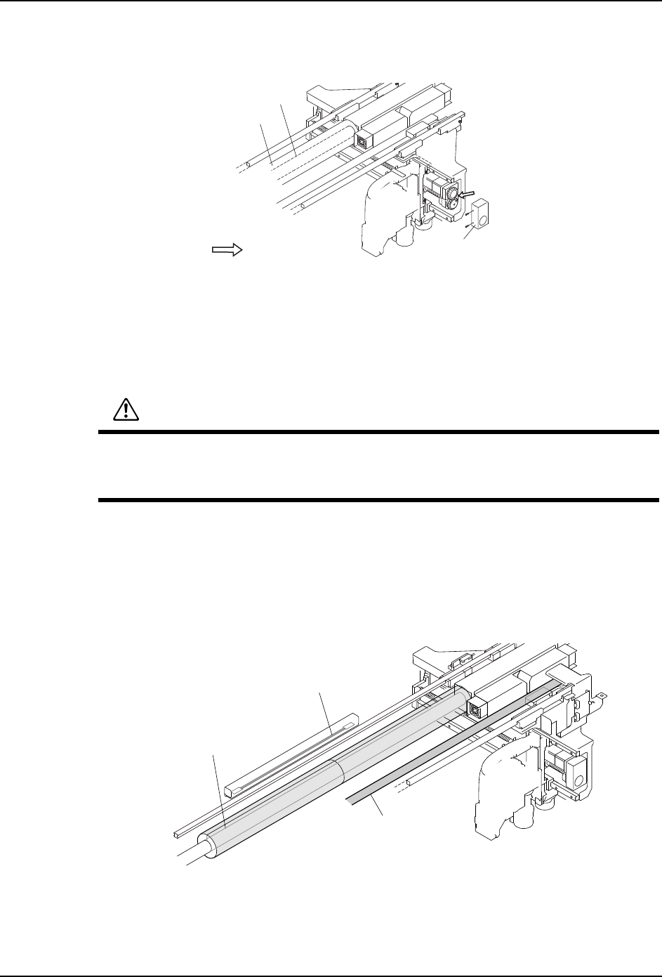
QD145-13 6. 预防保养
NXT II 机械手册 235
X 轴的加油
4. 拆除 X 轴齿轮的盖罩。
5. 请用清洁的布,擦去 X 轴齿轮的污垢。
6. 取 0.5cc 的 Mobilith SHC460WT(Mobil) 到刷子上。
7. 用刷子将润滑油均匀地涂敷到 XS 轴齿轮 (2) 上。
8. 用手动将贴装工作头 (X 轴单元 ) 进行 10 次全程往复,使润滑油循环。
9. 用清洁的布,擦去渗出的多余润滑油。
10.安装 X 轴盖罩。
11.加润滑油后,请确认元件相机表面、吸嘴置放台、搬运轨道、Y 轴线性标尺、共面性传
感器用线性标尺等没有附着润滑油。如果附着润滑油,请用干净的没有线脚的干布擦去。
注意 )擦去的时候,请不要用力过度以免损伤单元。
12.请取下线性马达轴的保护盖板。
13.插入模组。(参考 「5.1 模组的拉出 / 插入」)
0(&6
;䕈啓䕂Ⲫ㔽
⍖ᭋ
㒓ᗻ偀䖒䕈
ֱᡸⲪ㔽
注意
将 XY 机械手用手进行移动时,请抓住框架部分。抓住贴装工作头主体或者手柄时,请
不要对工作头施加压力。
请不要按压 X 轴齿轮盖罩。齿轮盖罩有可能变形。
01MEC-0970S
㒓ᗻ偀䖒䕈
݅䴶ᗻӴᛳ఼⫼㒓ᗻᷛሎ
㒓ᗻᷛሎ

6. 预防保养 QD145-13
236 NXT II 机械手册
6.7.4 Y 轴平型电缆和滚轮的加油
备注 )Fuji 润滑油枪的润滑油一次喷射量是 0.6cc,请作为加油量的参考值。
表中的滚轮的加油量是对于 1 台模组的需要量。
以下以 M6-2 为例进行说明。
1. 拉出模组。(参考 「5.1 模组的拉出 / 插入」)
2. 将主电源 OFF。
警告
模组刚运转后,请不要直接触摸线性马达的轴和线圈部分。有可能因高温被灼伤。
模组的线性马达有强力的磁性。使用心藏起搏器的用户,请不要接近线性马达的轴或者
线圈部分 (请离开 400mm 以上进行操作)。有可能因为磁力造成心藏起搏器的误动。
注意
将 XY 机械手用手进行移动时,请抓住框架部分。抓住贴装工作头主体或者手柄时,请
不要对工作头施加压力。
请不要压住 X 轴的齿轮盖罩。因为齿轮盖罩有可能变形。
在模组的线性马达附近操作时,请不要使用通常的金属工具 , 使用非磁性的工具。
在模组的线性马达附近 (55mm 以内 ),请不要将磁卡、手表、精密仪器等靠近。有可能
因磁力而产生故障。
在进行工作头更换和维修保养操作时,请注意不要将物品碰到线性马达上 , 会造成损
伤,如果在线性标尺上发生了伤痕或者错误时 , 有可能不能生产。那时,有必要更换
线性马达。
01MEC-0324Sb
㒓ᗻᷛሎ
;䕈啓䕂Ⲫ㔽
㒓ᗻ偀䖒㒓䚼ߚ
㒓ᗻ偀䖒䕈
润滑油 加油处 加油量 (cc)
G501( 信越化学 ) (K30315) M3-2 (1) Y 轴平型电缆 (左侧) 0.4
(2) Y 轴平型电缆 (右侧) 0.2
(3) 滚轮 1
M6-2 (4) Y 轴平型电缆 0.7
(5) 滚轮 0.5