00195725-0102_UM_X-Serie_SR605_ES.pdf - 第456页
6 Ampliaciones de estación Instrucciones de servicio SIPLACE Serie-X 6.18 Módulo láser coplanario A partir de la versión de software SR.605.xx Edición 07/2008 ES 456 6.18.5 Marcar la máquina automática con el aviso de ad…

Instrucciones de servicio SIPLACE Serie-X 6 Ampliaciones de estación
A partir de la versión de software SR.605.xx 6.18 Módulo láser coplanario
Edición 07/2008 ES
455
El TwinHead recoge el componente a probar, lo centra ópticamente con la cámara CO (ver apar-
tado 6.7
, página 434) y pasa por cada uno de los cuatro lados sobre el haz láser fijo del módulo
láser coplanario. En ello cada patilla de conexión es explorada desde abajo por el haz láser. La
luz láser dispersa por la cara inferior de la patilla es registrada por un sensor y sirve como base
para el cálculo de la posición exacta de la patilla respecto a la tarjeta de circuitos impresos. Los
valores de posición así determinados se comparan con los valores límite predeterminados por el
usuario. Si se excede este valor, el componente se elimina o vuelve a colocar en su sitio.
El módulo láser coplanario se utiliza en combinación con el centrado óptico de componentes.
Componentes con patillas de conexión dobladas o que faltan se reconocen y dado el caso se eli-
minan.
6.18.3 Datos técnicos
6
6.18.4 Limitaciones
– El componente debe presentar mínimo dos y máximo cuatro hileras de patillas Gullwing.
– Las hileras de patillas deben ser ortogonales una a otra.
– Las patillas deben estar orientadas ortogonalmente a la hilera de patillas.
– Los extremos de las patillas se encuentran en una recta.
– No es posible una medición de componentes con solamente una hilera de patillas.
Componentes Gullwing
Precisión ± 18,5 µm (3σ) (Componente de referencia)
± 24,7 µm (4σ)
± 30,5 µm (3σ) (componente hasta 32 mm)
± 40,7 µm (4σ)
± 31,3 µm (3σ) (componente hasta 55 mm)
± 41,7 µm (4σ)
Tamaño de componente
máx.
55 x 55 mm²
Trama de patillas mín. 300 µm
Altura de componente
máx.
25 mm
Posibles posiciones Posición 3 en SIPLACE X2 y X3, alternativo al módulo láser coplana-
rio 3D
Tipo de cabezal de colo-
cación
TwinHead

6 Ampliaciones de estación Instrucciones de servicio SIPLACE Serie-X
6.18 Módulo láser coplanario A partir de la versión de software SR.605.xx
Edición 07/2008 ES
456
6.18.5 Marcar la máquina automática con el aviso de advertencia W216
6
Aviso de advertencia W216 "clase láser 2" sobre la cubierta al lado del interruptor principal
artículo N° 03010316-01 (número por cada máquina automática: 1)
INDICACIÓN 6
En el montaje del módulo láser coplanario la máquina automática debe clasificarse en clase
láser 2. El módulo láser no está integrado en el circuito de PARADA DE EMERGENCIA.
6
Fig. 6.18 - 3 Aviso de advertencia W216 al lado del interruptor principal
→ Marque para ello la máquina automática con el aviso de advertencia W216 "clase láser 2",
artículo N° 03010316-xx.
6
6
6
6
6
6
¡Radiación láser!
¡No mirar hacia el haz!
Clase láser 2

Instrucciones de servicio SIPLACE Serie-X 6 Ampliaciones de estación
A partir de la versión de software SR.605.xx 6.18 Módulo láser coplanario
Edición 07/2008 ES
457
→ Pegue el aviso de advertencia W216 al lado del interruptor principal en la cubierta (ver pos.
W216 en la Fig. 6.18 - 3
, página 456).
6.18.6 Visualización LED en el controlador
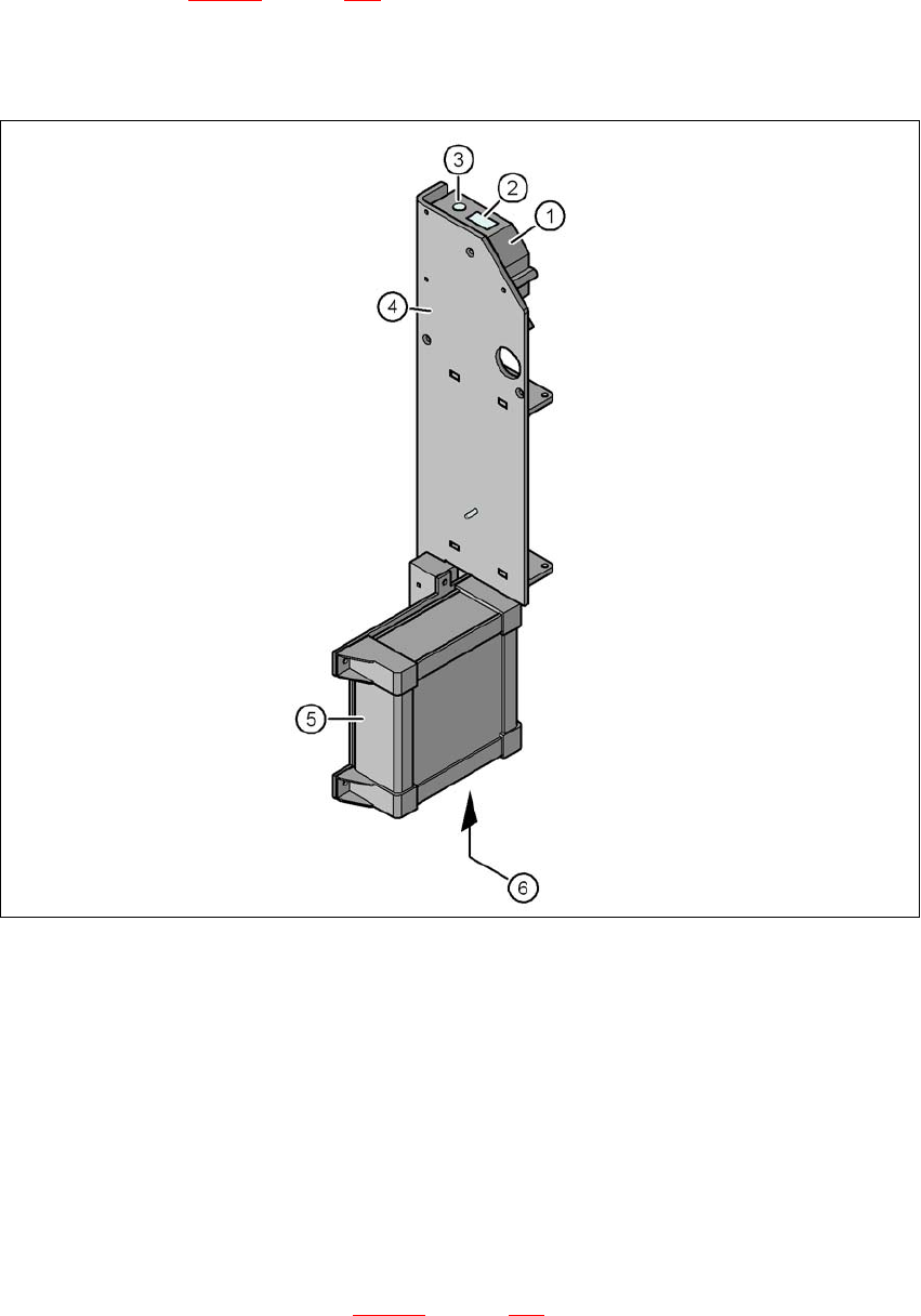
6
Fig. 6.18 - 4 Módulo láser coplanario
(1) Sensor láser
(2) Detector
(3) Promediador láser
(4) Ángulo de montaje
(5) Controlador
(6) Visualización LED, conexiones en el controlador
Los estados del módulo coplanario se indican con LED. Los LED se encuentran en la cara inferior
del controlador (ver pos. 6 en la Fig. 6.18 - 4
, página 457).