NXT 机械手册 QD029-27S.pdf - 第144页
5. 基本操作 QD029-27 122 NXT 机械手册 6. 请把废料带箱放入基座内。请安了料盘单 元 -LT 之后,安外边间隔用废料带箱。 01MEC-084 5 S ᑳ᭭ᏺㆅ 㕂⫼ᑳ᭭ᏺㆅ fPAsb6Qk fPAsb6Qk Downloaded at 2012/05/31 17:08 JST by 3MWW3275 DL#fPAsb6Qk

QD029-27 5. 基本操作
NXT 机械手册 121
3. 盖板内侧附有 2 个阀。请旋转、切换阀的摇柄。使 2 个阀处于相同的状态下安装盖板。
4. 请将基座内废料带处理槽安装到基座上。
5. 请将从基座内废料带处理槽面露出的空气管的插头插入到模组前面盖板的插座内。
01MEC-0846S
Փ⫼᭭Ⲭऩܗ/7ᯊ
Փ⫼᭭Ⲭऩܗ/7ᯊ
01MEC-0844S
ᑻݙᑳ᭭ᏺ໘⧚ῑ
ᑻݙᑳ᭭ᏺ໘⧚ῑ
ᑻᅮ䚼
01MEC-0848S
ᦦ༈
ᦦᑻ
Ⲫᵓ
ᑻݙᑳ᭭ᏺ໘⧚ῑ
fPAsb6Qk
fPAsb6Qk
Downloaded at 2012/05/31 17:08 JST by 3MWW3275 DL#fPAsb6Qk

5. 基本操作 QD029-27
122 NXT 机械手册
6. 请把废料带箱放入基座内。请安了料盘单元 -LT 之后,安外边间隔用废料带箱。
01MEC-0845S
ᑳ᭭ᏺㆅ
㕂⫼ᑳ᭭ᏺㆅ
fPAsb6Qk
fPAsb6Qk
Downloaded at 2012/05/31 17:08 JST by 3MWW3275 DL#fPAsb6Qk

QD029-27 5. 基本操作
NXT 机械手册 123
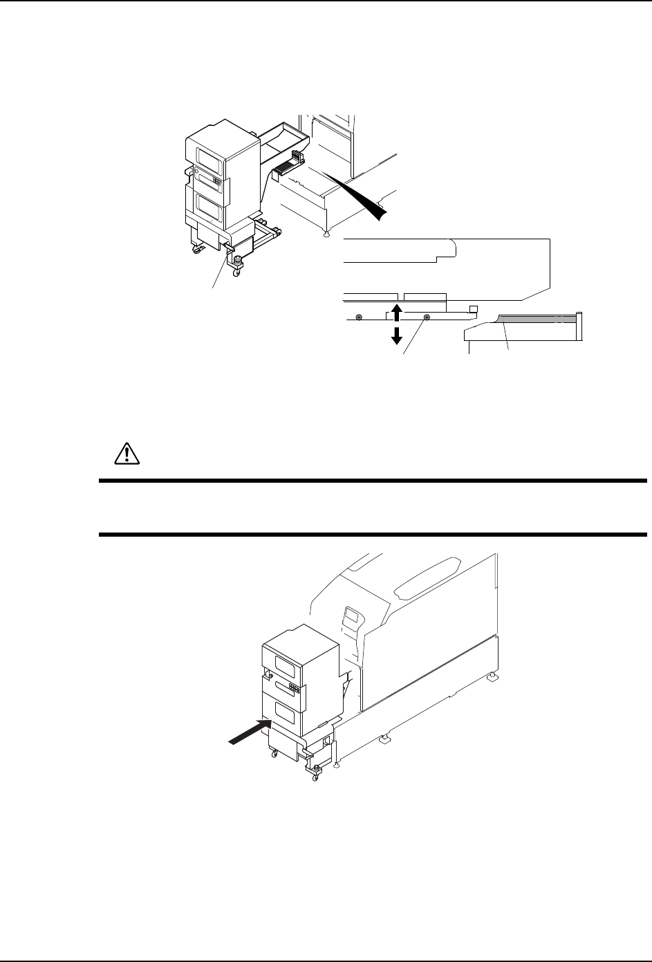
5.6.2 安装方法
1. 将料盘单元 -LT 配置在模组前面。
2. 将料盘单元 -LT 的辊轮盒与料站基座的沟槽对齐,旋转手柄进行调整。
3. 慢慢地将料盘单元 -LT 压入模组内。请确实压入到最里面。料盘单元 -LT 自动地锁定在
模组上。
0(&6
᭭Ⲭऩܗⱘ䕞䕂
ᡬᓣᶘ
᭭キᑻⱘ≳ῑ
警告
在将料盘单元 -LT 压入机器时,请确认料盘单元 -LT 和基座之间是否有别的操作者。
存在在料盘单元 -LT 和本机器之间将身体夹住而造成重伤和压死的危险。
01MEC-0575
fPAsb6Qk
fPAsb6Qk
Downloaded at 2012/05/31 17:08 JST by 3MWW3275 DL#fPAsb6Qk