NXT 机械手册 QD029-27S.pdf - 第377页
QD029-27 7. 消耗品的更换 NXT 机械手册 355 7.13.2 基座用风扇 1. 将主电源开关 OFF,切断机 器的电源。 2. 拧下螺丝 (4 根 ), 卸下模组背面的盖板。 3. 拆下插座后将风扇与盖板一起从机座中卸 下, 拧下螺丝 (4 根 ), 将风扇从盖板中取出进 行更换。 警告 更换作业请必须在切断电源后进 行。 fPAsb6Qk fPAsb6Qk Downloaded at 2012/05/31 17:08 …

7. 消耗品的更换 QD029-27
354 NXT 机械手册
7.13 冷却风扇
7.13.1 模组用风扇
1. 将主电源开关 OFF,切断机器的电源。
2. 拧下螺丝 (4 根 ), 卸下模组背面的盖板。
3. 拧下螺丝 (2 根 ),将冷却风扇的安装支架从模组背面卸下。
4. 拆下插座后与风扇一起从模组中取出, 拧下螺丝 (2 根 ), 将冷却风扇从支架中取出进行
更换。
警告
更换作业请必须在切断电源后进行。
fPAsb6Qk
fPAsb6Qk
Downloaded at 2012/05/31 17:08 JST by 3MWW3275 DL#fPAsb6Qk

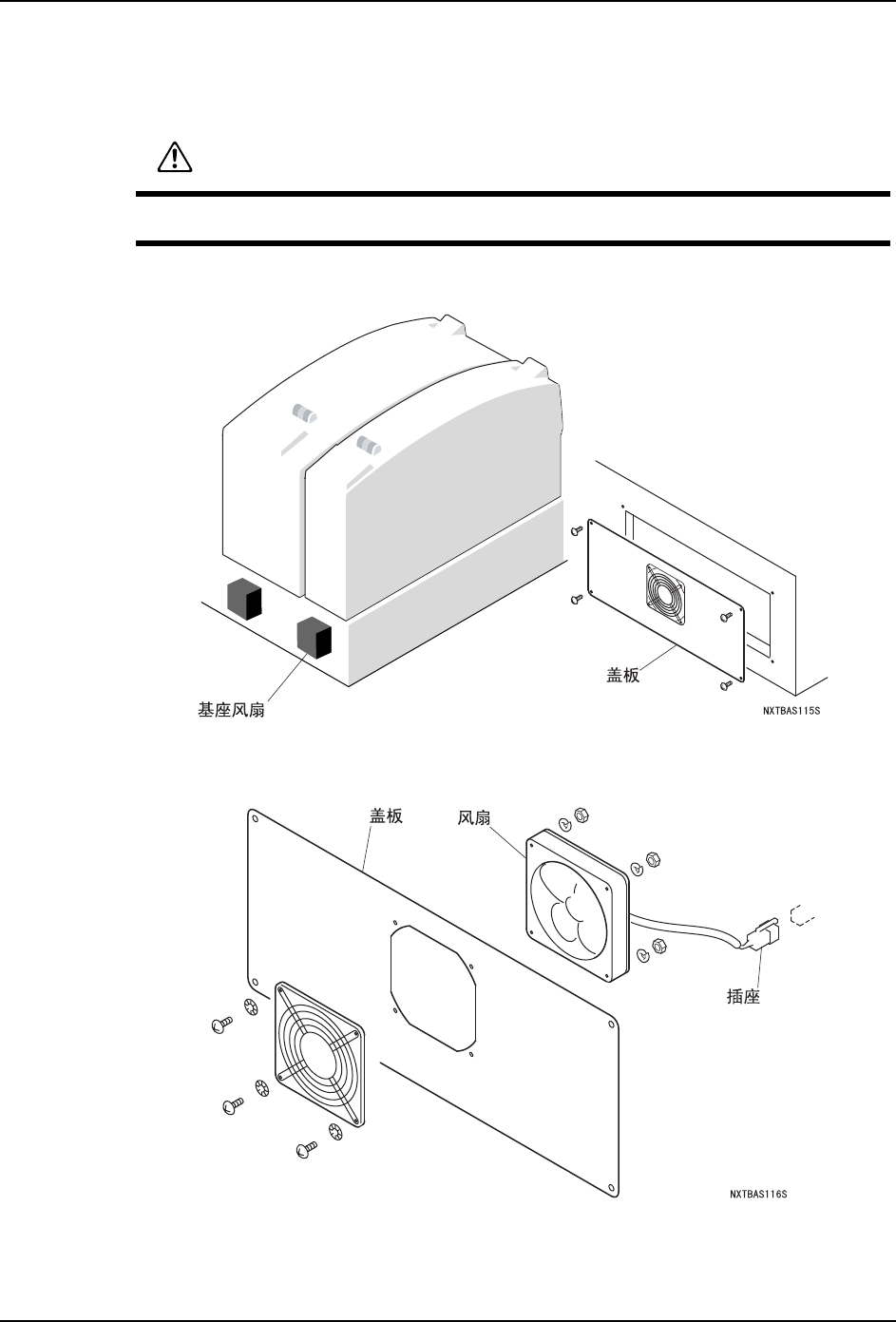
QD029-27 7. 消耗品的更换
NXT 机械手册 355
7.13.2 基座用风扇
1. 将主电源开关 OFF,切断机器的电源。
2. 拧下螺丝 (4 根 ), 卸下模组背面的盖板。
3. 拆下插座后将风扇与盖板一起从机座中卸下, 拧下螺丝 (4 根 ), 将风扇从盖板中取出进
行更换。
警告
更换作业请必须在切断电源后进行。
fPAsb6Qk
fPAsb6Qk
Downloaded at 2012/05/31 17:08 JST by 3MWW3275 DL#fPAsb6Qk

7. 消耗品的更换 QD029-27
356 NXT 机械手册
7.13.3 用于料站托架 DC 电源的风扇
〈M6(S) 模组〉
更换用于料站托架 DC 电源的风扇时, 请预先拆下料站托架。
1. 将主电源开关 OFF,切断机器的电源。
2. 拆下螺栓(4根)和风扇的插座,从料站托架上取下DC电源盖罩。
3. 拧下螺栓 (4 根 ),将风扇从 DC 电源盖罩中取出后进行更换。
警告
更换作业请必须在切断电源后进行。
fPAsb6Qk
fPAsb6Qk
Downloaded at 2012/05/31 17:08 JST by 3MWW3275 DL#fPAsb6Qk