NXT 机械手册 QD029-27S.pdf - 第235页
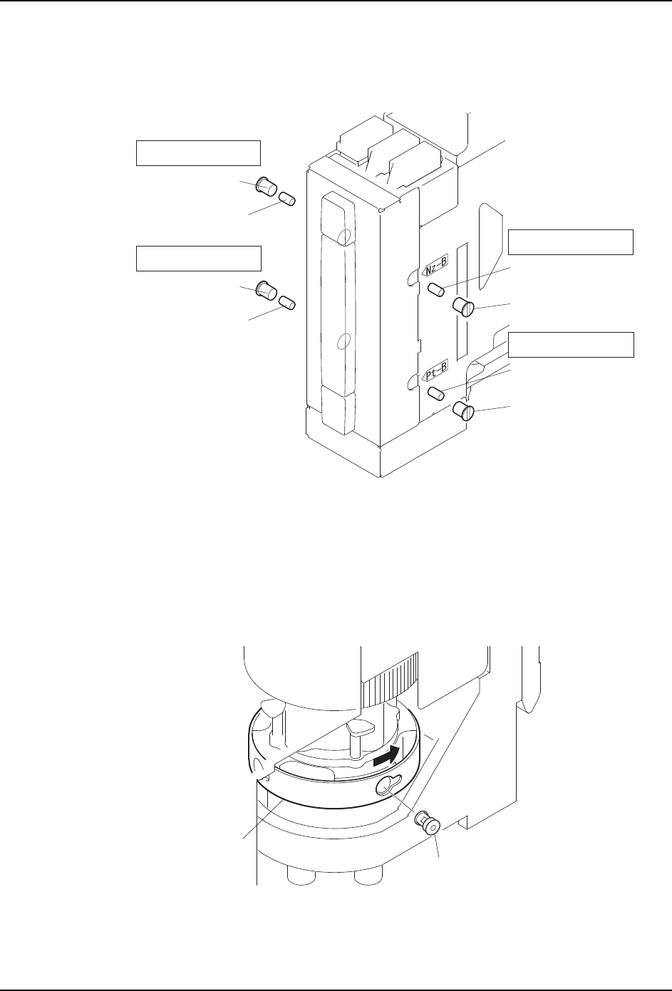
QD029-27 6. 预防保养 NXT 机械手册 213 〈H08 工作头〉 1. 拆下贴装工作头。 (详细请参考 " 5.8 贴装工作头的 拆除 / 安装 "。) 2. 旋转过滤器罩环,卸下过滤器套和过滤器 。 3. 将过滤器套和过滤器浸在中性洗涤剂溶液 中进行洗净。污垢严重时,请与新 品更换。 备注 )将收存在过滤器套中的过滤器放入用于清洗的选项网笼中 (K1325B) 。请在中性洗涤 剂中浸泡 5 分钟后用超…

6. 预防保养 QD029-27
212 NXT 机械手册
〈H02 工作头〉
1. 拆下贴装工作头。(详细请参考 " 5.8 贴装工作头的拆除 / 安装 "。)
2. 使用一字型螺丝刀,松开过滤器套并卸下过滤器。
3. 将过滤器盖罩浸在中性洗涤剂溶液中进行清洗。污垢严重时,请更换新的部件。
备注 )将收存在过滤器套中的过滤器放入用于清洗的选项网笼中 (K1325C)。请在中性洗涤
剂中浸泡 5 分钟后用超声波清洗器清洗。
〈H04 工作头〉
1. 拆下贴装工作头。(详细请参考 " 5.8 贴装工作头的拆除 / 安装 "。)
2. 旋转过滤器罩环,拆下过滤器套和过滤器。
3. 将过滤器套与过滤器浸在中性洗涤剂溶液中进行清洗。污垢严重时,请更换新的部品。
备注 )将收存在过滤器套中的过滤器放入用于清洗的选项网笼中 (K1325B)。请在中性洗涤
剂中浸泡 5 分钟后用超声波清洗器清洗。
0(&6
ఈ༈%পఈ⫼
ఈ༈$পఈ⫼
ఈ༈%পܗӊ⫼
ఈ༈$পܗӊ⫼
䖛Ⓒ఼
োĩ;+
䖛Ⓒ఼༫
䖛Ⓒ఼༫
䖛Ⓒ఼༫
䖛Ⓒ఼༫
䖛Ⓒ఼
োĩ;+
䖛Ⓒ఼
োĩ;+
䖛Ⓒ఼
োĩ;+
1;73+'6D
䖛Ⓒ఼㔽⦃
䖛Ⓒ఼༫$$2$/
ݙ᳝䖛Ⓒ఼
fPAsb6Qk
fPAsb6Qk
Downloaded at 2012/05/31 17:08 JST by 3MWW3275 DL#fPAsb6Qk

QD029-27 6. 预防保养
NXT 机械手册 213
〈H08 工作头〉
1. 拆下贴装工作头。(详细请参考 " 5.8 贴装工作头的拆除 / 安装 "。)
2. 旋转过滤器罩环,卸下过滤器套和过滤器。
3. 将过滤器套和过滤器浸在中性洗涤剂溶液中进行洗净。污垢严重时,请与新品更换。
备注 )将收存在过滤器套中的过滤器放入用于清洗的选项网笼中 (K1325B)。请在中性洗涤
剂中浸泡 5 分钟后用超声波清洗器清洗。
〈H12(S)/H12SH) 工作头〉
1. 拆下贴装工作头。(详细请参考 " 5.6 贴装工作头的拆除 / 安装 "。)
2. 旋转过滤器罩环,卸下过滤器套和过滤器。
3. 将过滤器套和过滤器浸在中性洗涤剂溶液中进行洗净。污垢严重时,请与新品更换。
备注 )将收存在过滤器套中的过滤器放入用于清洗的选项网笼中 (K1325C)。请在中性洗涤
剂中浸泡 5 分钟后用超声波清洗器清洗。
NXTPHD006Sc
ো$$2$/
䖛Ⓒ఼㔽⦃
䖛Ⓒ఼༫
䖛Ⓒ఼
01MEC-0194Sa
োAA19H**
䖛Ⓒ఼㔽⦃
䖛Ⓒ఼༫
䖛Ⓒ఼
fPAsb6Qk
fPAsb6Qk
Downloaded at 2012/05/31 17:08 JST by 3MWW3275 DL#fPAsb6Qk

6. 预防保养 QD029-27
214 NXT 机械手册
6.5.6 吸嘴夹紧销的更换和吸嘴吸取面的清扫
〈仅限于 H01/H02 工作头〉
1. 拆下贴装工作头。(详细请参考 " 5.8 贴装工作头的拆除 / 安装 "。)
2. 用老虎钳等夹住吸嘴夹紧销的固定爪一侧,使其容易拆卸。
注意 )吸嘴吸取面有 4 处定位点请不要触摸。
3. 请夹住夹紧销后拔出来。
注意 )请注意不要划伤吸嘴吸取面。
4. 吸嘴夹紧销在吸嘴吸取面上有 2 个。请将另一个吸嘴夹紧销也同样拆下。
5. 请清扫吸嘴的吸取面。用清洁纸轻轻地擦去粘附的污垢。
注意 )吸嘴吸取面有 4 处定位点请不要触摸。
ఈ།㋻䫔
ఈপ䴶
ᅮԡ⚍
1;73+'6D
1;73+'6D
ఈপ䴶
ᅮԡ⚍
fPAsb6Qk
fPAsb6Qk
Downloaded at 2012/05/31 17:08 JST by 3MWW3275 DL#fPAsb6Qk