NXT 机械手册 QD029-27S.pdf - 第354页
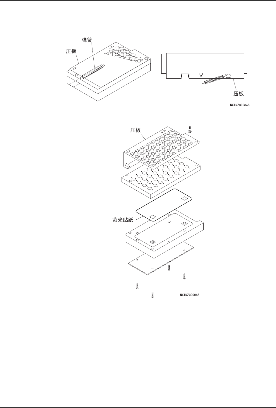
7. 消耗品的更换 QD029-27 332 NXT 机械手册 <H08/H12(S) 类型 > 1. 拆下吸嘴置放台下部的弹簧。 2. 取下压板,更换荧光贴纸。 fPAsb6Qk fPAsb6Qk Downloaded at 2012/05/31 17:08 JST by 3MWW3275 DL#fPAsb6Qk

7. 消耗品的更换 QD029-27
332 NXT 机械手册
<H08/H12(S) 类型 >
1. 拆下吸嘴置放台下部的弹簧。
2. 取下压板,更换荧光贴纸。
fPAsb6Qk
fPAsb6Qk
Downloaded at 2012/05/31 17:08 JST by 3MWW3275 DL#fPAsb6Qk

QD029-27 7. 消耗品的更换
NXT 机械手册 333
7.9 模组内电路板的保险丝
保险丝烧断后,电路板上的保险丝检查用 LED 灯灭。请确认更换前保险丝有无烧断。
作为防止静电的对策 , 请将控制电源用的内存电阻 ( 电阻值 :1MΩ 以上 ) 的防静电腕带戴在
手腕上。碗带的连接口 (EARTH BONDING POINT)设置在基座的正面以及背面。
7.9.1 模组远程控制 I/O 电路板
1. 拆除远程控制 I/O 电路板前面的盖板。
2. 请把防静电腕带戴在手腕上。
3. 确认烧断的保险丝是哪一根后,将主电源开关 OFF 后切断机器的电源。
4. 从远程控制 I/O 电路板上拔下保险丝 (F1,F3) 并更换。
注意
在携带静电的状态下继续操作时,有可能使电子元件破坏。
注意
在更换保险丝前,请务必切断电源。请用与拆下的保险丝相同容量的保险丝更换。
fPAsb6Qk
fPAsb6Qk
Downloaded at 2012/05/31 17:08 JST by 3MWW3275 DL#fPAsb6Qk
