RS-1使用說明書.pdf - 第906页
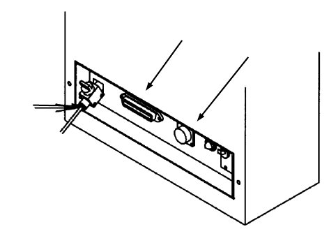
第 2 部 功能 详解篇 第 12 章 选项 组件 12 - 23 (6) 请将各电缆及气管连 接到主机右侧的接 口面板上的「 M TS 用电源插口」 、 「接口插口」 、 「 MTS 用 Φ 6 管取出口」 上。 TR5S NX/5 DNX (7) 接通装置的电源,进 行机器设置「使用 单元」及「 MTS 安装位置偏移」的设置。 ① ② ③ ① M TS 用电源插口 ② M TS 用接口插口 ③ M TS 用 Φ6 管取出口

第 2 部 功能详解篇 第 12 章 选项组件
12-22
安装方法
(1) 请使主体后部台架处于下降的状态。
(2) 调整 MTS 的脚轮调节器①,使主体的台架支架基准面②与 MTS 的连接块上面③处于相同高度,
并找水平。
(3) 仅旋转 MTS 前侧的脚轮调节器,调整使连接块上面③与导辊上端处于相同高度(±3mm 左右)。
(4) 从主体后侧,在安全盖关闭的状态下缓缓将装置安装在主体内。
(5) 请确认插入到最里面之后,升起台架。
贴片机
①
②
导辊
上端
连接块
上面
机械阀
台架开关
③
请进行调整,使连接块上面的此部分高度与导辊上
端处于相同高度(±
3mm 左 右 )。

第 2 部 功能详解篇 第 12 章 选项组件
12-23
(6) 请将各电缆及气管连接到主机右侧的接口面板上的「MTS 用电源插口」、「接口插口」、「MTS 用
Φ 6 管取出口」上。
TR5SNX/5DNX
(7) 接通装置的电源,进行机器设置「使用单元」及「MTS 安装位置偏移」的设置。
①
②
③
①
MTS
用电源插口
② MTS 用接口插口
③ MTS 用 Φ6 管取出口

第 2 部 功能详解篇 第 12 章 选项组件
12-24
MAIN 基板的设置(TR5SNX/TR5DNX)
对 TR8SR 以外的 MTS,需要进行 MAIN 基板的 DIPSW 设置。
出库时 DIPSW6-2 设置为 OFF。
要在 RS-1/1R 使用其他机种所使用的 TR5SNX/TR5DNX 时,在实施改造及 MTS 软件版本升级后,
需要将 DIPSW6-2 切换到 ON。
MTS 连接机种
DIPSW6-2
RS-1/1R ON
RS-1/1R 以外
OFF
要确认 MAIN 基板,为 TR5SNX 时请取下盖罩①,为 TR5DNX 时请取下盖罩②。
1
2