KE2010取扱説明書Ver.2.01和文Rev.08.pdf - 第70页
2 - 6 2-1-4. ノーヒューズ・ブレーカ ノーヒューズ・ブレーカ ノーヒューズ・ブレーカ ノーヒューズ・ブレーカ 図 2-1- 4 に示すように本体正面右側のやや下に装置のノーヒューズ・ブレーカがあります。 通常,レバーを上げた状態( ON 状態)にしておきます。 本スイッチは,遮断機ですので,装置に異常な過電流が流れると,自動的に電源を遮断します。 注意 メインスイッチが ON 状態の時,絶対にノーヒューズ・ブレーカを OFF…

2 - 5
キー名称 機 能
WINDOW ・ ビジョンモニタの映し出されるカーソルを十字カーソルからウインドウカー
ソルに切替える時に使用します。また,ティーチングのモードも切替えられ,
LED が点灯します。
▲
PREVIOUS
・ 前のデータに移動する時に使用します。
PAUSE ・ 搭載追尾の一時停止に使用します。
CANCEL ・ ティーチングにより入力したデータを取り消す時にに使用します。
▼
NEXT
・ 次のデータに移動する時に使用します。
ENTER ・ ティーチングにより入力したデータを確定する時に使用します。
注意
HOD ユニットを本体に接続する時は,本体電源を OFF した状態で行って下さい。
注意
HOD ユニット裏面にはマグネットシート(磁石)が貼られているため,フロッピ
ーディスクなどを近づけると記憶されているデータが消える恐れがあります。
2-1-3.
トラックボー
トラックボートラックボー
トラックボール
ルル
ル
図
図図
図 2-1-3
注1: トラックボールの中央部をクリックしないようにお願いします。
クリックのタイミングによっては,キーを受け付けなくなることがあります。
ボールをクランプしている部分を右に回すことによりボールを取り外すことができます。
注1
左ボタン
※ボールの清掃
※ボールの清掃※ボールの清掃
※ボールの清掃
右ボタン
注意:
注意:注意:
注意:

2 - 6
2-1-4.
ノーヒューズ・ブレーカ
ノーヒューズ・ブレーカノーヒューズ・ブレーカ
ノーヒューズ・ブレーカ
図 2-1-4 に示すように本体正面右側のやや下に装置のノーヒューズ・ブレーカがあります。
通常,レバーを上げた状態(ON 状態)にしておきます。
本スイッチは,遮断機ですので,装置に異常な過電流が流れると,自動的に電源を遮断します。
注意
メインスイッチが ON 状態の時,絶対にノーヒューズ・ブレーカを OFF にし
ないで下さい。
図
図図
図 2-1-4
本体正面図
本体正面図本体正面図
本体正面図
2-1-5.
メインスイッチ
メインスイッチメインスイッチ
メインスイッチ
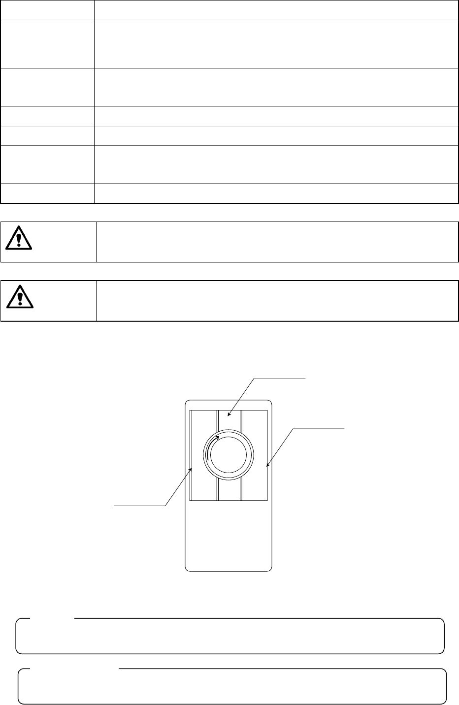
図 2-1-5 に示すように本体正面右側の上側前面カバーに,メインスイッチがあります。
メインスイッチは,横(水平)で電源 OFF,縦(垂直)で電源 ON となります。
注意
ノーヒューズ・ブレーカが OFF の状態で,絶対にメインスイッチを ON にし
ないで下さい。
図
図図
図 2-1-5
本体正面図右側
本体正面図右側本体正面図右側
本体正面図右側
メインスイッチ
ノーヒューズ
ブレーカー

2 - 7
2-1-6. その他の押しボタンスイッチ
その他の押しボタンスイッチその他の押しボタンスイッチ
その他の押しボタンスイッチ
〈フロント〉
図
図図
図
2-1-6-1
ON LINE
ORIGIN SINGLE CYCLE
SERVO FREE
1
3
5
4
6
7
2
図
図図
図
2-1-6-2