天龙M10 M20_中文手册.pdf - 第224页
5.资料库的制作与编辑 5-60 ☆ 元件尺寸与粗定位置变更用窗口尺寸和窗口位置的关系。 全体长度 X 全体长度 Y 在基本的[粗定位置的变更]=0 的情况下 全体长度 Y/2 全体长度 Y 全体长度 X/4 引脚间距×3 粗定位置变更用窗口尺寸及窗口位置由元件尺寸决定。其关系不仅与下 边引脚的插座元件有关, 而且与上边引脚的插座元件,右边引脚的插座元件,左边引脚的插座元 件都有关。并且该关系与 单边引脚的插座元件以及双边引脚的插座元件…

5.资料库的制作与编辑
5-59
● 粗定位置的变更
当在吸嘴从偏离元件中心处吸取元件的状态下进行摄像时,会得到偏离相机中心的图像,若此中
心偏移量过大,将发生「粗定位置错误」,导致不能进行图像处理。可采用的对应措施是,通过
修改插座元件图像资料中的「粗定位置的变更」值,可以在任意的偏离位置下设定粗定位置。
[例]如下图所示,在偏离元件中心的位置上进行吸取的情况下,「粗定位置的变更」值要设定
为 15。
粗定位窗口
从元件下面用相机摄取的
图像与从上面观看的图
像,在位置上是相反的。

5.资料库的制作与编辑
5-60
☆ 元件尺寸与粗定位置变更用窗口尺寸和窗口位置的关系。
全体长度 X
全体长度 Y
在基本的[粗定位置的变更]=0 的情况下
全体长度 Y/2
全体长度 Y
全体长度 X/4 引脚间距×3
粗定位置变更用窗口尺寸及窗口位置由元件尺寸决定。其关系不仅与下边引脚的插座元件有关,
而且与上边引脚的插座元件,右边引脚的插座元件,左边引脚的插座元件都有关。并且该关系与
单边引脚的插座元件以及双边引脚的插座元件也都相关。
全体长度 X
全体长度 Y
在基本的[粗定位置的变更]=0 的情况下
全体长度 Y
全体长度 Y/2
全体长度 Y/2
全体长度 Y
全体长度 X/4 引脚间距×4
窗口中心位置
窗口中心位置

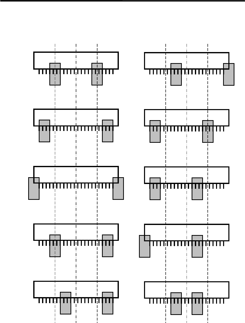
5.资料库的制作与编辑
5-61
☆ 如果改变[粗定位置的变更]中的个位数,窗口的位置将发生变化。
[粗定位置的变更]=*0 [粗定位置的变更]=*5
[粗定位置的变更]=*1 [粗定位置的变更]=*6
[粗定位置的变更]=*2 [粗定位置的变更]=*7
[粗定位置的变更]=*3 [粗定位置的变更]=*8
[粗定位置的变更]=*4 [粗定位置的变更]=*9