RS-1使用说明书.pdf - 第134页
第 1 部 基本篇 第 2 章 生产 2-28 2-7-1-5 其他调整 使用带有缺 口的基板等时 , 基板检测 传感器可能检 测出错误, 所以应 根据基板缺口的大 小, 输入 基板传送传 感器延迟 时间。 此外,在使 用异形基 板等时,可以更 改挡块 ⑩ 和基板检出 传感器的位置( Y 方 向)。 (1) 基板传送 传感器的延迟时间 < 设置步骤 > ① 请选择 [ 生 产程序-基 板数据 ] 或机器设 置的菜单的 [ 传…

第 1 部 基本篇 第 2 章 生产
2-27
2-7-1-4 外形基准位置的调整方法
调整限动器位置后,必须重新设置以下所示的外形基准位置。
<位置变更操作顺序>
(1) 请从生产的菜单选择[生产辅助]-[支援准备]。
按下画面上的「调整外形基准位置」后会显示调整外形基准位置画面。
・外形基准位置的具体设置方法请参阅「8-3-3-3 调整外形基准位置」。

第 1 部 基本篇 第 2 章 生产
2-28
2-7-1-5 其他调整
使用带有缺口的基板等时,基板检测传感器可能检测出错误,所以应根据基板缺口的大小,输入
基板传送传感器延迟时间。
此外,在使用异形基板等时,可以更改挡块⑩和基板检出传感器的位置(Y方向)。
(1)基板传送传感器的延迟时间
<设置步骤>
① 请选择[生产程序-基板数据]或机器设置的菜单的[传送]-[传送设置]。
② 根据基板缺口的长度,用软键盘输入延迟时间或缺口的长度。
(参见8-3-3-1 传送设置)
如果基板检测传感器的位
置不会刮到基板缺口处时,
则无需输入延迟。
(2) 限动器
如基板前端部有缺口,基板定心不稳定时,请移动限动器。
关于移动方法请参阅「2-7-1-3 外形基准的调整方法」。
移动限动器组件后,请重新设定「机器设置」的“调整外形基准位置”。
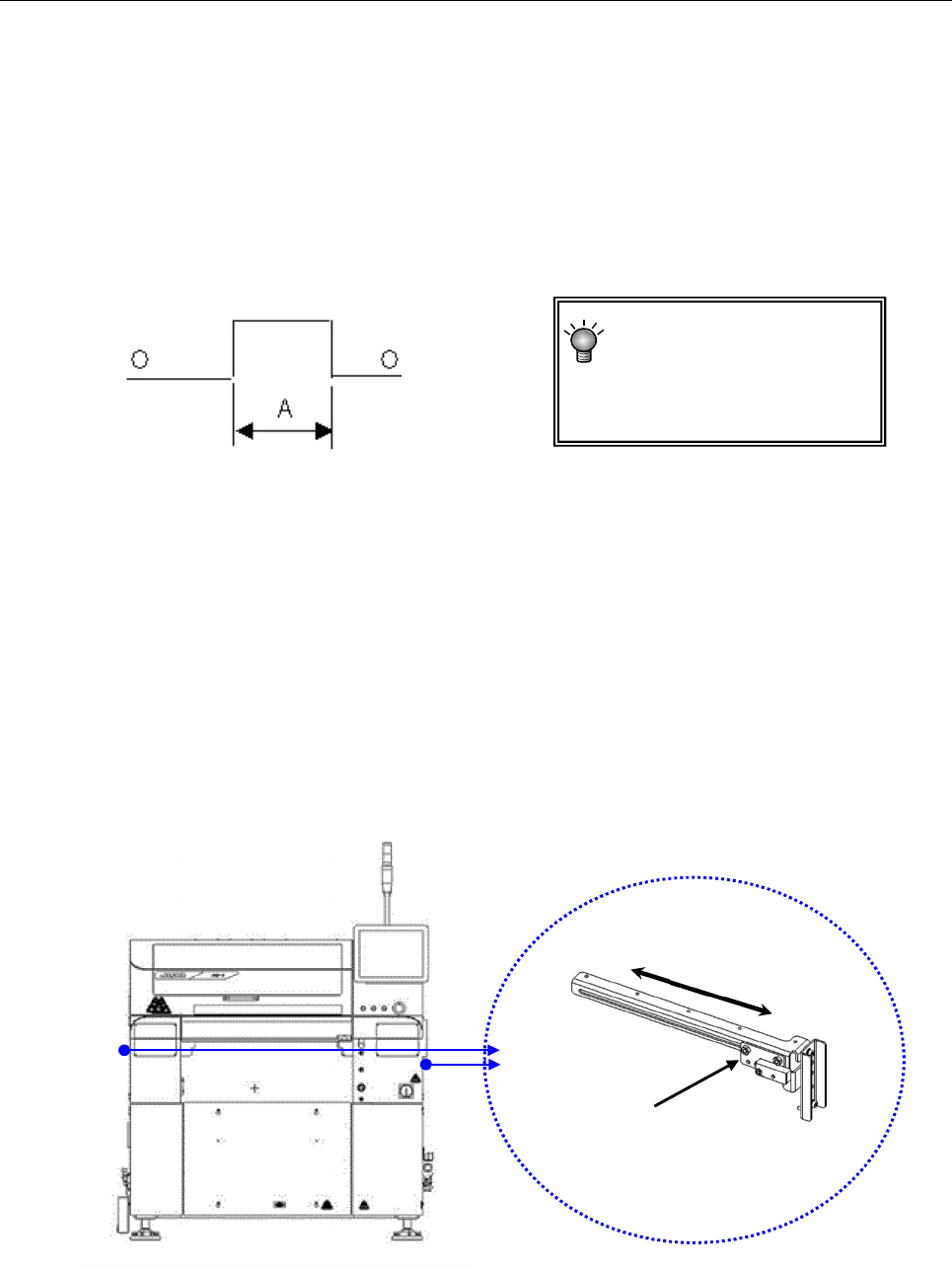
(3) 基板检测传感器
<位置变更步骤>
请扶着传感器架①,沿着长孔向 A 方向移动。
请确认已用手动控制传送系统、或编辑程序中的传送安装了基板。
A:缺口长度
①
A

第 1 部 基本篇 第 2 章 生产
2-29
2-7-2 元件供应部分的准备
请在台架上安装可以使用的供料器。
安装后,请进行吸取跟踪。
<步骤>
① 请从生产菜单选择[支援准备]。
请按下[送料器设置]按钮。
显示以下的送料器设置画面。
会显示当前的台架类型。
根据台架类型,有的供料器不能使用。
R/E:可以使用 RF 类型、EF 类型的电动供料器。
RF:可以使用 RF 类型的电动供料器。