RS-1使用说明书.pdf - 第407页
第 1 部 基本篇 第 4 章 制作生产程序 4-73 激光定心的中 心位置 (例 2 ) 以下面的元件为 例,输入 偏移值。 数值的单 位为“mm(毫米) ”。 ( ( 无色) =>引脚部 、 ( 带颜色 )=>模部、 ( 粗线)=> PAD ) 贴片坐标点 激光高度 基板上的 PAD 从上面 看元件时 从 横向 ( 近前方 向)看元件时 因贴片坐标 点和激光 定心的中心位置不同 ,如就此 贴片会发生贴片偏…

第 1 部 基本篇 第4 章 制作生产程序
4-72
3) 贴片偏移量 X、Y、
设定贴片时的补正值。
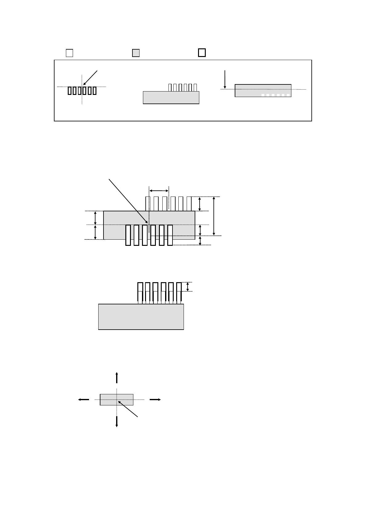
(例1) 单向引脚连接器
※贴片角度为0度
激光定心的中心 贴片坐标点
从上面看元件时 基板上的 PAD
如果不输入贴片偏移量而进行贴片,则会出现下述情况。
基板上的 PAD
在上图的状态下(贴片角度 0 度,贴片偏移 0),测量以贴片坐标点为起点到实际元件贴片坐标点
位置的尺寸,输入到贴片偏移值中。
执行上述步骤,输入贴片偏移值后,在贴装多个同名元件时,即使各贴片角度不是 0 度,也会自
动变更贴片位置,使元件被贴在正确的位置上。
贴片偏移 -Y(X 为 0)

第 1 部 基本篇 第4 章 制作生产程序
4-73
激光定心的中心位置
(例2) 以下面的元件为例,输入偏移值。 数值的单位为“mm(毫米)”。
( (无色)=>引脚部、 (带颜色)=>模部、 (粗线)=> PAD)
贴片坐标点 激光高度
基板上的 PAD 从上面看元件时 从横向(近前方向)看元件时
因贴片坐标点和激光定心的中心位置不同,如就此贴片会发生贴片偏移。
因此,请将贴片坐标点和激光定心的中心位置的偏移部分作为偏移值输入到“贴片偏移值”中。
无偏移值贴片时的情况如下。
激光定心的中心位置
在此例中,应输入其偏移值,以使引脚的尖端位于PAD的中央位置。
在“贴片偏移”栏中输入“X=-5.5、Y=-10”后,则按如下方法贴片。
注 1) “贴片偏移”值,请输入从激光定心的中心位置到贴片坐标的尺寸。值的符号如下(箭头为到
贴片坐标点的尺寸)
5.5
3
10
2
2
5
5
2
+Y
+X
-X
-Y

第 1 部 基本篇 第4 章 制作生产程序
4-74
贴片坐标点
激光定心的中心位置
激光定心的中心位置
贴片坐标点
(例3) 按下图贴片时,将贴片偏移输入为“X=0,Y=+3”。
注 2) 偏移值以贴片角度“0”为基准输入。
(例4) 元件的贴片角度为“90”时,假定贴片角度为“0”,输入“贴片偏移值”。在下列情况时(贴
片角度
“90”),输入“X=0、Y=2”。
注 3) 偏移值的输入方法有在「元件数据」的“贴片偏移”中输入偏移值和在「贴片数据」的“X、
Y 坐标”上加减偏移值两种方法。
但在贴片数据中需要加减各个贴片点的偏移值。
因此,当 1 种元件的贴片点数量很多时,或不想变更贴片数据时,请在「元件数据」的“贴
片偏移”中输入偏移值。
注 4) 不同的元件,通过变更「元件数据」-「定心」的“激光高度”的值,有可能改变定心的中心
位置。
因此,有时不输入“贴片偏移”值而通过改变“激光高度”也能调整贴片位置。
但这种情况,需要把“激光高度”设置在能稳定进行定心的位置上。
2
3