Q170226E01.pdf - 第98页
4.1 Inspection Check List SERVICE MANUAL RH5 4.1−15 DA3SEC−80−020−B0 4.1.13 Exhaust Cleaner Exhaust cleaner Turn this screw to drain the oil. (When doing this, be sure to put a plate below .) Inspection Period Inspection…

RH5
4.1 Inspection Check List
SERVICE MANUAL
4.1−14
DA3SEC−80−020−B0
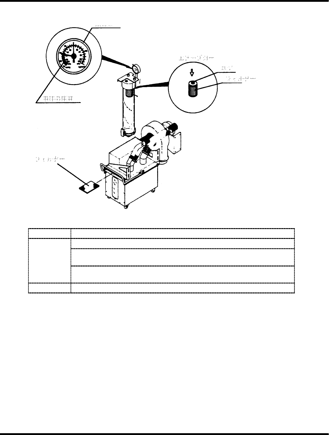
4.1.12 Cut Waste Bottle and Tape Waste Receptacle
Filter
Red area
Pressure gauge
Air blow
Screw
Filter
Inspection
Period Inspection item
x Dispose of the lead cut waste and tape waste.
Daily
x Clean the filter of the tape waste receptacle using air blow. (Replace it if
damaged.)
x Make sure that the black needle of the pressure gauge is out of the red area.
If it is within the red area, clean up the anvil and hose to eliminate any clogging.
Weekly
x Clean the filter of the cut waste bottle using air blow. (Replace it if damaged.)

4.1 Inspection Check List
SERVICE MANUAL
RH5
4.1−15
DA3SEC−80−020−B0
4.1.13 Exhaust Cleaner
Exhaust cleaner
Turn this screw to drain the oil.
(When doing this, be sure to put a plate
below.)
Inspection
Period Inspection item
Daily
x Drain the oil out of the exhaust cleaner.

RH5
4.1 Inspection Check List
SERVICE MANUAL
4.1−16
DA3SEC−80−020−B0
4.1.14 MR Unit
Regulator knob
Main pressure gauge
Lubricator
Air filter
Inspection
Period Inspection item
x Make sure that main pressure gauge reads 0.49 MPa.
x Make sure that air filter element is not damaged.
Daily x Make sure that air filter is not clogged.
x Replenish the lubricator with oil as necessary.
x Make sure that lubricator drips once every five minutes.
4.1.15 Vacuum Pump
Inspection
Period Inspection item
Daily
x Make sure that vacuum gauge reads minimum 79.99 KPa.