RS-1R使用说明书.pdf - 第139页
第 1 部 基本篇 第 2 章 生产 2- 27 2-7-1- 4 外形基准位置的调整方法 调整限动器位置 后,必须重新设 置以下所示的 外形基准位置。 <位置变更操作 顺序> (1) 请从 生产 的菜单选择[ 生产 辅助]-[支 援准备] 。 按下画面上的「 调整外形基准位 置」后会显示 调整外形基准位 置画面。 ・ 外形基准位置 的具体设置方法 请参阅「 8- 3-3- 3 调整外形基准位置」 。

第 1 部 基本篇 第 2 章 生产
2-26
2-7-1-3 外形基准的调整方法
<位置变更操作顺序>
(1) 请从生产的菜单选择[生产辅助]-[支援准备]。
按下画面的「传送控制」按钮后显示传送控制画面。
(2) 请使限动器为 ON。
请选择「传送限动器」,按 ON。
(3) 请将生产基板抵住限动器。
基板接触限动器的部分有缺口等而不稳定时,请松开限动器根部一侧的螺丝(2 个),用手移动予
以调整。
(4) 请配置支承销。
请根据生产基板情况在支承台上配置支承销。QFP等这类需要贴片精度的元件如在下面配置支
承销,可利于提高精度。
(5) 调整完成后,请按下「传送控制」画面的「关闭」按钮,结束传送控制。
注意
外形基准位置将成为程序数据的基板坐标原点
(
基准位置
)
。
因此,实施限动器调整后,一定要在「2-7-1-4 外形基准位置的调整」中重新设
置。
基板原点可以在生产程序的「基板数据」(参阅第 4 章 4-3-3 基板数据)中进行
变更。
注意
机器工作时,请绝对不要将手或头部等伸入装置内部。
松开螺丝

第 1 部 基本篇 第 2 章 生产
2-27
2-7-1-4 外形基准位置的调整方法
调整限动器位置后,必须重新设置以下所示的外形基准位置。
<位置变更操作顺序>
(1) 请从生产的菜单选择[生产辅助]-[支援准备]。
按下画面上的「调整外形基准位置」后会显示调整外形基准位置画面。
・外形基准位置的具体设置方法请参阅「8-3-3-3 调整外形基准位置」。

第 1 部 基本篇 第 2 章 生产
2-28
2-7-1-5 其他调整
使用带有缺口的基板等时,基板检测传感器可能检测出错误,所以应根据基板缺口的大小,输入基板
传送传感器延迟时间。
此外,在使用异形基板等时,可以更改挡块⑩和基板检出传感器的位置(Y 方向)。
(1) 基板传送传感器的延迟时间
<设置步骤>
① 请选择[生产程序-基板数据]或机器设置的菜单的[传送]-[传送设置]。
② 根据基板缺口的长度,用软键盘输入延迟时间或缺口的长度。
(参见8-3-3-1 传送设置)
如果基板检测传感器的位
置不会刮到基板缺口处时,
则无需输入延迟。
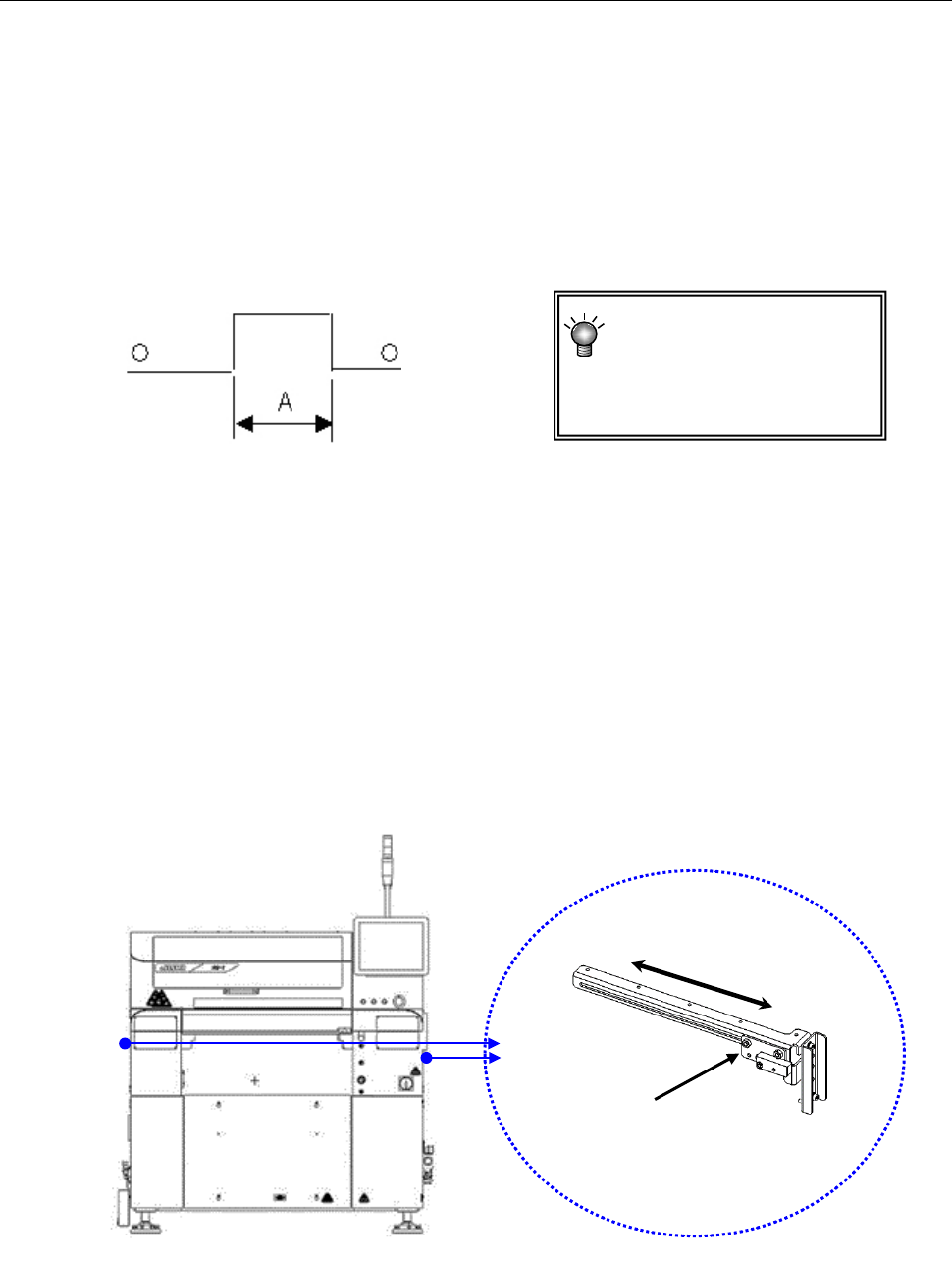
(2) 限动器
如基板前端部有缺口,基板定心不稳定时,请移动限动器。
关于移动方法请参阅「2-7-1-3 外形基准的调整方法」。
移动限动器组件后,请重新设定「机器设置」的“调整外形基准位置”。
(3) 基板检测传感器
<位置变更步骤>
请扶着传感器架①,沿着长孔向 A 方向移动。
请确认已用手动控制传送系统、或编辑程序中的传送安装了基板。
A:缺口长度
①
A