RS-1R使用说明书.pdf - 第893页
第 2 部 功能详解篇 第 12 章 选项组件 12 - 22 安装方法 (1) 请使主体 后部台架 处于下降的 状态 。 (2) 调整 M TS 的 脚轮调节 器① ,使 主体 的台架支架 基准面②与 MT S 的连 接块上面③ 处于相同高度, 并找水平。 (3) 仅 旋转 MTS 前侧 的脚轮调节器, 调整使连接块 上面③与 导辊上端处于相同 高度 (± 3mm 左右 )。 (4) 从主体后侧,在安全 盖关闭的 状态下缓缓将 装置安…

第 2 部 功能详解篇 第 12 章 选项组件
12-21
发生错误检知、未检知时,请从新调整 TR8SR 侧传送带浮起传感器的高度。
操作顺序
(1) 在 TR8SR 的情况下,打开你给 RF08AS 或附件,TR8SR 的供料器盖,请插入后部 1 号,10 号,
20 号巷。
(2) 当不能检测到供料器压盖打开时,将 TR8SR 侧的传送带浮起传感器渐渐地降低到可检测到的位
置。
(3) 8mm 供料器,TR8SR 后 1 号,10 号,插入到 20 号,当你拔出馈线轨的游隙部。
(4) 如果检知错误,请把 TR8SR 侧的传送带浮起传感器渐渐地抬高到到检知不出错的位置。
(5) 请再次进行①的操作,确认可检知供料器压盖的打开。
一般只进行①和③,当发生从新调整后,②、④、⑤的操作也要进行。
最后,请进行“MTS 组装位置偏差”的设定。
TR8SR 的卸下方法
(1) 停止主体设备的动作。
(2) 设置脚轮,使调节器脚高于设置面。
(3) 请慢慢地拉出 TR8SR,避免与主体设备内部零件接触造成损坏。
(4) 请暂且关闭主体空气阀门,拔出通信电缆、电源电缆、空气管子。
警告
如在安全护罩开口部打开的情况下运作主体设备,则当手或身体误入运
转中的装置里面时,会导致重大事故。
矩阵托盘服务器的设置(TR5SNX、TR5DNX)
在主机可以选择 TR5SNX、TR5DNX。
有关使用方法、设置方法的详情,请参见 MTS 附带的『使用说明书』。
要将从其他机种移来的 TR5SNX 和 TR5DNX 安装在 RS-1/1R 上,需要进行改造及 MTS 软件版本升
级、切换 DIPSW,并取下挡块,如果未对应,接通电源将成为紧急停止状态。
有关改造及 MTS 版本升级,请咨询客服。
※将已对应完改造、MTS 版本升级的 TR5SNX、TR5DNX 用于 RS-1/1R 或其他机种时,请实施【12-3-7】
【12-3-8】记载的操作。
为了防止意外启动引起事故,请切断电源后再进行操作。
传送带浮起传感器
调整时,稍微松开螺丝,
一点一点地进行高度调整。
注意

第 2 部 功能详解篇 第 12 章 选项组件
12-22
安装方法
(1) 请使主体后部台架处于下降的状态。
(2) 调整 MTS 的脚轮调节器①,使主体的台架支架基准面②与 MTS 的连接块上面③处于相同高度,
并找水平。
(3) 仅旋转 MTS 前侧的脚轮调节器,调整使连接块上面③与导辊上端处于相同高度(±3mm 左右)。
(4) 从主体后侧,在安全盖关闭的状态下缓缓将装置安装在主体内。
(5) 请确认插入到最里面之后,升起台架。
贴片机
①
②
导辊
上端
连接块
上面
机械阀
台架开关
③
请进行调整,使连接块上面的此部分高度与导辊上
端处于相同高度(±
3mm 左右)。

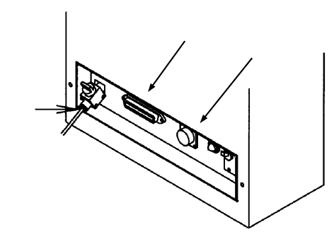
第 2 部 功能详解篇 第 12 章 选项组件
12-23
(6) 请将各电缆及气管连接到主机右侧的接口面板上的「MTS 用电源插口」、「接口插口」、「MTS 用
Φ 6 管取出口」上。
TR5SNX/5DNX
(7) 接通装置的电源,进行机器设置「使用单元」及「MTS 安装位置偏移」的设置。
①
②
③
①
MTS
用电源插口
② MTS 用接口插口
③ MTS 用 Φ6 管取出口