JM-50使用说明书.pdf - 第377页
第 1 部 基本篇 第 4 章 制作生产程序 4- 77 2) 元件层 对已 设置在同一 贴片层 (贴片优 先顺序)的 元件 组,要进一步设 定每个元件 的优先顺序 时, 需要变更 元件 层。这 个设定变更,只 在进行「 优化顺序」生产 时才有效 。 设定「贴片层」 ,可设定当贴片优 先顺序前 位的元件用完时 「无元 件」暂停, 但「元件层」的 设定,只可设定 优化时的优先顺序,不能 设定「无 元件」时暂停。 请在下拉式列表 中显示的层…

第 1 部 基本篇 第 4 章 制作生产程序
4-76
(5) 贴片条件
贴片条件是关于贴片的设置项目,由于应用默认值,通常无需变更。如果在默认值的状态下不能正
常贴片时,请变更设置。变更贴片条件项目后,变更基本部的项目时,该值会被重新设置为默认值,
敬请注意。
注意
如果在变更贴片条件后变更了基本部分的项目,贴片条件的值有可能
被重新设置为默认值。
1) 贴片深度补偿
输入贴片时吸嘴尖端推进多少量。
为“0”时,由于基板平面度等的影响,会在元件未到达基板的状态下就进行贴片,导致贴片
位置偏移,或贴片时元件在焊锡膏上滑动。
出现上述情况时,请在元件到达基板前增加补偿量(输入正值)。
初始值为“0.5mm”。
○但在下述条件时为 0.2mm。
・元件尺寸短边小于 0.45mm(0603 以下)
○但在下述条件时为 0mm。
・元件种类为插入元件或者 INS 电解电容器
・包装方式类型为轴向供料器(S,L 类型共通)
※ 同时满足 0.2mm 和 0mm 的条件时,为 0mm。
注意
使用轴向供料器时,绝对不要在吸取补偿量中输入正值。否则可能造成
供给机与吸嘴发生碰触。

第 1 部 基本篇 第 4 章 制作生产程序
4-77
2) 元件层
对已设置在同一贴片层(贴片优先顺序)的元件组,要进一步设定每个元件的优先顺序时,
需要变更元件层。这个设定变更,只在进行「优化顺序」生产时才有效。
设定「贴片层」,可设定当贴片优先顺序前位的元件用完时「无元件」暂停,但「元件层」的
设定,只可设定优化时的优先顺序,不能设定「无元件」时暂停。
请在下拉式列表中显示的层 1(优先度高)到层 7(优先度低)选择设置。
3) 贴片偏移量 X、Y、
θ
设定贴片时的补正值。
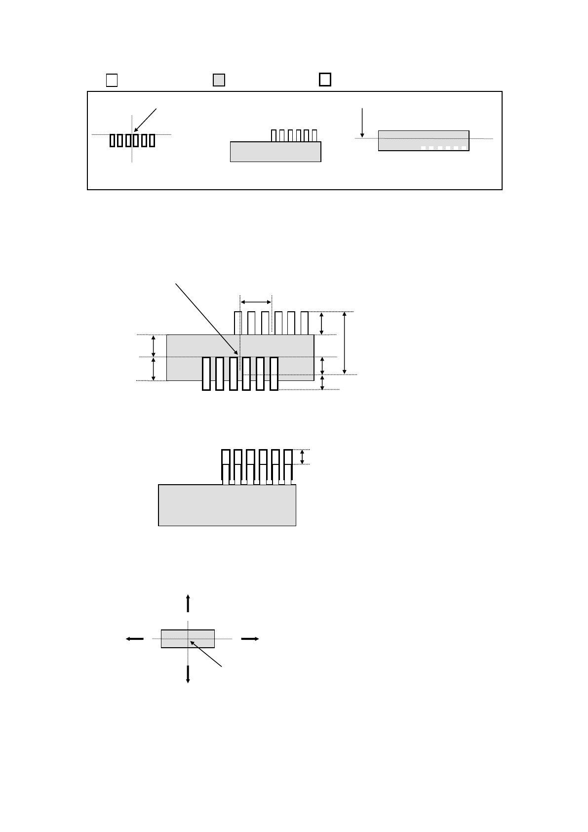
(例 1) 单向引脚连接器
※贴片角度为0度
激光定心的中心 贴片坐标点
从上面看元件时 基板上的 PAD
如果不输入贴片偏移量而进行贴片,则会出现下述情况。
基板上的 PAD
在上图的状态下(贴片角度 0 度,贴片偏移 0),测量以贴片坐标点为起点到实际元件贴片坐标点位
置的尺寸,输入到贴片偏移值中。
执行上述步骤,输入贴片偏移值后,在贴装多个同名元件时,即使各贴片角度不是 0 度,也会自
动变更贴片位置,使元件被贴在正确的位置上。
贴片偏移
-Y(X 为 0)
先贴片
后贴片

第 1 部 基本篇 第 4 章 制作生产程序
4-78
激光定心的中心位置
(例 2) 以下面的元件为例,输入偏移值。 数值的单位为“mm(毫米)”。
( (无色) => 引脚部、 (带颜色) => 模部、 (粗线) => PAD)
贴片坐标点 激光高度
基板上的 PAD 从上面看元件时 从横向(近前方向)看元件时
因贴片坐标点和激光定心的中心位置不同,如就此贴片会发生贴片偏移。
因此,请将贴片坐标点和激光定心的中心位置的偏移部分作为偏移值输入到“贴片偏移值”中。
无偏移值贴片时的情况如下。
激光定心的中心位置
在此例中,应输入其偏移值,以使引脚的尖端位于PAD的中央位置。
在“贴片偏移”栏中输入“X=-5.5、Y=-10”后,则按如下方法贴片。
注 1) “贴片偏移”值,请输入从激光定心的中心位置到贴片坐标的尺寸。值的符号如下(箭头为
到贴片坐标点的尺寸)
5.5
3
10
2
2
5
5
2
+Y
+X
-X
-Y