JM-50使用说明书.pdf - 第763页
第 2 部 功能详解篇 第 11 章 选项组件 11 - 12 (1) 在主机右侧面的 接口板上的 「 MTS 用电源连 接器」 、 「接 口连接器」 、 「 MTS 用 φ 6 管道取出口」 上, 连接各缆线和压 缩空气管。 (2) 请接入装置电源 ,对机器设置的 「使用单元 」和「 MTS 安装位置 偏移量 」 进行 设置。 ① ② ③ TR5SNK ① MTS 用 电源连接器 ② MTS 用 接口连接器 ③ MTS 用 φ 6 管…

第 2 部 功能详解篇 第 11 章 选项组件
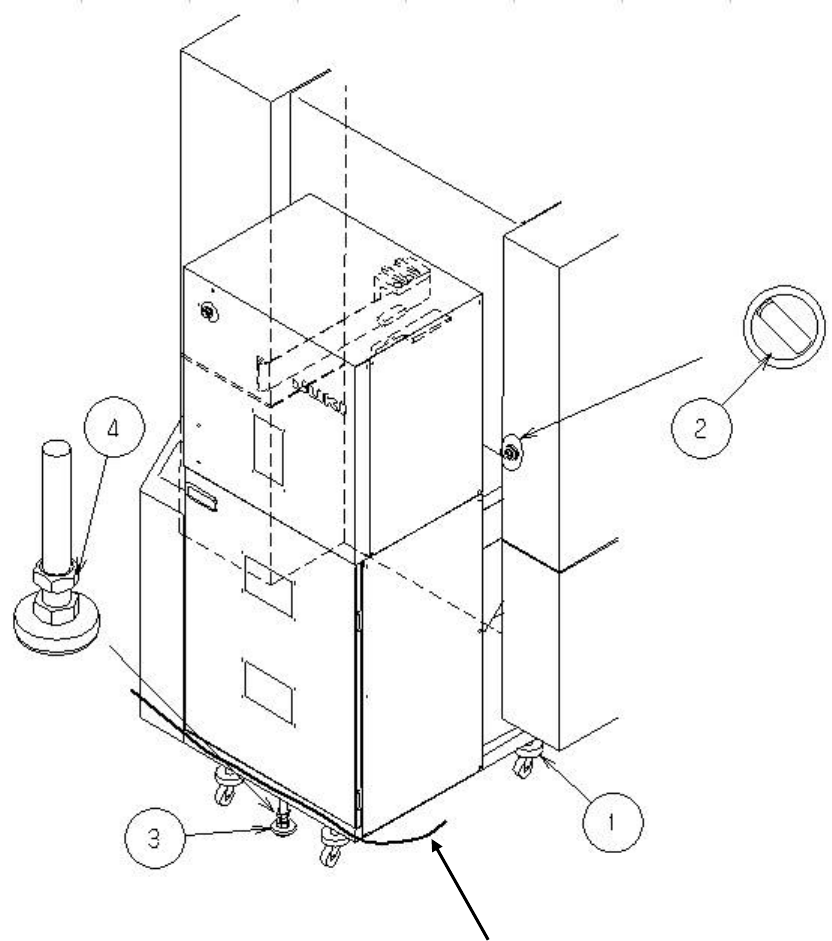
11-11
调整水平后,请将脚轮调节器①(2 处)旋回 1 圈,使装置前部下降。
松开主机构造阀的捆束线,将起重装置的罩安装在主机上,使主机的选择 SW②为 ON,进行夹紧。
请多次反复安装拆下,以确认是否确实可以夹紧。
(不能夹紧时,可能是构造阀不能完全关闭,请调整起重装置罩的位置)
请在夹紧状态下再次调整水平(微调整)。
调整后,请将调节器③降至接触地面的位置,最后用锁紧螺母④进行固定。
请将缆线、压缩空气管道盘绕在框架的下部。
缆线、空气管

第 2 部 功能详解篇 第 11 章 选项组件
11-12
(1) 在主机右侧面的接口板上的「MTS 用电源连接器」、「接口连接器」、「MTS 用φ 6 管道取出口」上,
连接各缆线和压缩空气管。
(2) 请接入装置电源,对机器设置的「使用单元」和「MTS 安装位置偏移量」进行设置。
①
②
③
TR5SNK
① MTS 用电源连接器
② MTS 用接口连接器
③ MTS 用
φ
6 管道取出口

第 2 部 功能详解篇 第 11 章 选项组件
11-13
11-4 传送选项、功能
JM-50 作为标准功能对应「长尺寸基板」、「对应 3 缓冲的基板尺寸下的 ZA 轴动作」。
在本章对关于传送功能进行说明。
11-4-1 对应长尺寸基板
对应基板尺寸
实施基板 2 次传送,X 方向的基板尺寸可以扩展至 MAX.800mm。
这样使 LED 照明等处使用的长尺寸基板生产成为可能。
以下用「规定尺寸」表示各规格 1 次传送的最大尺寸。
长尺寸基板对应尺寸: (单位:mm)
基板规格 方向 最小尺寸
最大尺寸
1
次传送
2
次传送
标准规格
X
50
410
800
Y
50
360