RX-6 使用说明书 用户使用 Rev11.pdf - 第1057页
第 2 部 功能详解篇 第 12 章 选项组件 12 - 115 <确认焊锡托盘 的安装状态 > 安装 焊锡托盘 后,请确认焊锡 托盘上面高度的 高低不等状况。 在 「 手动控制 」 的 「助焊剂涂覆装置 单元 控制」 中, 请使用 HMS ,对 空洞周边的 4 处 (图中●标记 的 位置)的高度,以 ①为基准 自动测量 3 处(② 、 ③、④) ,确认①→②、①→③、①→④ 的 3 方 向 关系均 在 ± 100 μ m 以内。 如果…

第 2 部 功能详解篇 第 12 章 选项组件
12-114
2) 拆下托盘的螺丝(M3)。
3)拆下后,按照相反步骤将托盘安装到旋转型转印装置上。
螺丝(M3)

第 2 部 功能详解篇 第 12 章 选项组件
12-115
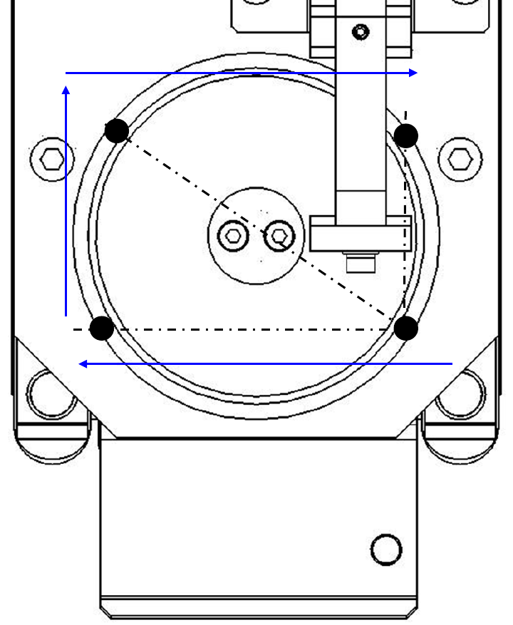
<确认焊锡托盘的安装状态>
安装焊锡托盘后,请确认焊锡托盘上面高度的高低不等状况。
在「手动控制」的「助焊剂涂覆装置单元控制」中,请使用 HMS,对空洞周边的 4 处(图中●标记
的位置)的高度,以①为基准自动测量 3 处(②、③、④),确认①→②、①→③、①→④的 3 方
向关系均在±100μm 以内。
如果未在该范围之内,请重新确认安装状态。
(参见 12-13-9 手动控制)
①
②
③
④

第 2 部 功能详解篇 第 12 章 选项组件
12-116
12-13-6 安装位置
RX-6/RX-6B/RX-6R,可将转印装置在前后侧区域各设置 1 台,合计 2 处。
转印装置的名称定义如下。
转印装置类型 直线型(基座桥型) 直线型(电
动送料器台架型)
旋转型
名称定义 转印装置 1 转印装置 2 转印装置 3
转印装置安装型
前侧 后侧 前侧 后侧 前侧 后侧
限制条件 CVS 不可
共面性不可 MTS 不可 MTS 不可
转印装置 1
转印装置 2
转印装置 1
转印装置 2
转印装置 3
转印装置 3
前侧台架
后侧台架