RX-6 使用说明书 用户使用 Rev11.pdf - 第1084页
第 2 部 功能详解篇 第 12 章 选项组件 12 - 142 单通道模式时, 与双通道 ( 前侧通道靠 近侧移动模式 ) 时使用 的支撑板 不同。 1) 单通道模式时 ①:请将前侧 通道的支撑台 _M(EZ4 45438901 ) 拆下。 ②: 请安装支撑台 _L(401 60755) 。 请拆下 8 处的螺丝,拆下 支撑台 _M 。 支撑台 请安装支撑台。 支撑台

第 2 部 功能详解篇 第 12 章 选项组件
12-141
12-14 双通道规格
12-14-1 支撑台
• 采用近身模式及单通道模式时必须变更支承台。
• 也有近身侧基准/身前方模式,用于连接 RX-7 时且为了提高 RX-7 的生产节拍。
• M 尺寸有 2 块同在包装内。请根据需要选择 S、L 。
传送模式/轨道基准 传送装置位置形象 基板尺寸(㎜) 支撑台尺寸 備考
双通道 / 前面基准
(
前侧通道靠近侧移动模式)
最小
:50 × 50
最大
:360 × 150
厚度
:0.3 ~ 6.0
S 尺寸
前侧通道靠近侧移动模式
※与 RX-7 的线构成时使
用。
双通道 / 外侧基准
最小
:50 × 50
最大
:360 × 250
厚度
:0.3 ~ 6.0
M 尺寸 工厂发货时间设定
单通道/前面基准
最小
:50 × 50
最大
:360 × 450
厚度
:0.3 ~ 6.0
L 尺寸
基板 Y 尺寸在超过 250mm
不到 450mm 的情况下需要
一个支撑台
_L(40160755)。
※ 如不是与 RX-7 一并使用时,建议用 外侧 基准。
※ 外侧支撑台全部是 M 尺寸

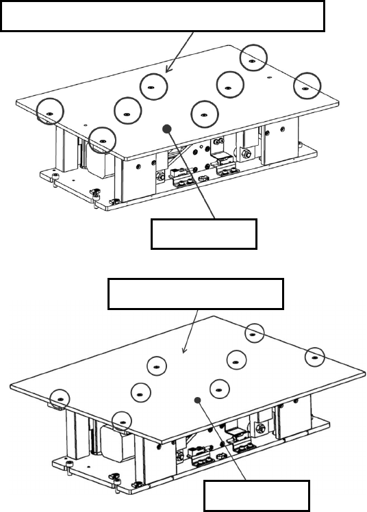
第 2 部 功能详解篇 第 12 章 选项组件
12-142
单通道模式时,与双通道(前侧通道靠近侧移动模式)时使用的支撑板不同。
1)单通道模式时
①:请将前侧通道的支撑台_M(EZ445438901)拆下。
②:请安装支撑台_L(40160755)。
请拆下 8 处的螺丝,拆下支撑台_M。
支撑台
请安装支撑台。
支撑台

第 2 部 功能详解篇 第 12 章 选项组件
12-143
2) 双通道(前侧通道靠近侧移动模式)时
①:请拆下前侧通道的支撑台_M(EZ445438901)。
②:请安装支撑台_S(40160754)。
③:请将前侧支撑台向近前侧移动约 50mm。
请拆下 8 处的螺丝,拆下支撑台_M。
支撑台
请安装支撑台。
支撑台
向近前侧移动约 50mm
移动标签位置
移动标签位置