RX-6 使用说明书 用户使用 Rev11.pdf - 第425页
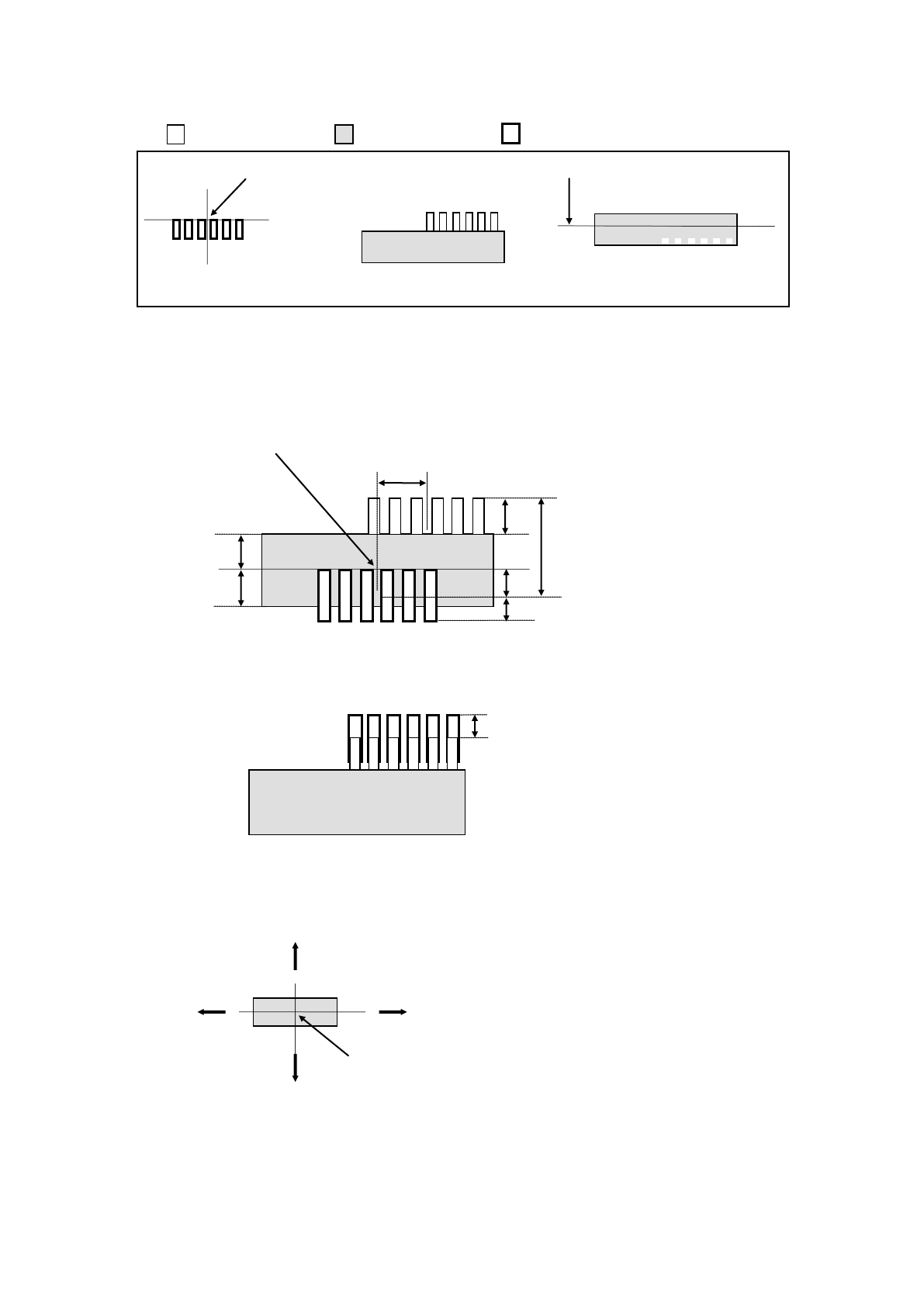
第 1 部 基本篇 第 4 章 制作生产程序 4- 77 贴片坐标点 激光定心的中心 位置 激光定心的中心 位置 贴片坐标点 (例 3 ) 按下图贴片时, 将贴片偏移输入 为 “X=0 , Y=+3” 。 注 2) 偏移值 以贴片角度 “0” 为基准输 入。 (例 4 ) 元件的 贴片角度为 “90” 时,假定 贴片角度为 “0” ,输 入 “ 贴片偏移值 ” 。在下 列情况时 ( 贴片角度 “90”) ,输入 “X=0 、 Y=2” …

第 1 部 基本篇 第 4 章 制作生产程序
4-76
激光定心的中心位置
(例2)以下面的元件为例,输入偏移值。 数值的单位为“mm(毫米)”。
( (无色) => 引脚部、 (带颜色) => 模部、 (粗线) => PAD)
贴片坐标点 激光高度
基板上的 PAD 从上面看元件时 从横向(近前方向)看元件时
因贴片坐标点和激光定心的中心位置不同,如就此贴片会发生贴片偏移。
因此,请将贴片坐标点和激光定心的中心位置的偏移部分作为偏移值输入到“贴片偏移值”中。
无偏移值贴片时的情况如下。
激光定心的中心位置
在此例中,应输入其偏移值,以使引脚的尖端位于PAD的中央位置。
在“贴片偏移”栏中输入“X=-5.5、Y=-10”后,则按如下方法贴片。
注 1) “贴片偏移”值,请输入从激光定心的中心位置到贴片坐标的尺寸。值的符号如下(箭头为到贴
片坐标点的尺寸)
5.5
3
10
2
2
5
5
2
+Y
+X
-
X
-
Y

第 1 部 基本篇 第 4 章 制作生产程序
4-77
贴片坐标点
激光定心的中心位置
激光定心的中心位置
贴片坐标点
(例3) 按下图贴片时,将贴片偏移输入为“X=0,Y=+3”。
注 2) 偏移值以贴片角度“0”为基准输入。
(例4) 元件的贴片角度为“90”时,假定贴片角度为“0”,输入“贴片偏移值”。在下列情况时(贴片角度
“90”),输入“X=0、Y=2”。
注 3) 偏移值的输入方法有在「元件数据」的“贴片偏移”中输入偏移值和在「贴片数据」的“X、Y 坐
标”上加减偏移值两种方法。
但在贴片数据中需要加减各个贴片点的偏移值。
因此,当 1 种元件的贴片点数量很多时,或不想变更贴片数据时,请在「元件数据」的“贴片
偏移”中输入偏移值。
注 4) 不同的元件,通过变更「元件数据」-「定心」的“激光高度”的值,有可能改变定心的中心位
置。
因此,有时不输入“贴片偏移”值而通过改变“激光高度”也能调整贴片位置。
但这种情况,需要把“激光高度”设置在能稳定进行定心的位置上。
2
3

第 1 部 基本篇 第 4 章 制作生产程序
4-78
4) 速度
在用小的吸嘴吸取元件时,或者元件表面有沟槽导致真空漏气等情况时,可以从默认值变更XYZ轴的
加速度。
• XY
从下拉列表中指定元件吸取后向贴片位置移动的 XY 加速度。
• Z下降速度
从下拉列表中指定贴片位置的 Z 轴下降加速度(用于调整元件应力)。
• Z上升速度
从下拉列表中指定贴片位置的 Z 轴上升加速度(用于稳定元件位置)。
①激光定心时
• θ速度 (计测时)
从下拉列表中指定 θ 旋转速度。设置激光识别时的 θ 轴加速度。
在 Head 带有元件的状态下,除 LA 测量旋转时以外,对所有旋转动作有效。
• θ速度 (计测外)
从下拉列表中指定 θ 旋转速度。
在 Head 带有元件的状态下,除 LA 测量旋转时以外,对所有旋转动作有效。
设置除激光识别以外的 θ 轴加速度。
②图像定心时
·θ 速度
从下拉列表中指定 θ 旋转速度。在 Head 带有元件的状态下,除 LA 测量旋转时以外,对所有旋
转动作有效。
5) 试打
与「贴片数据」中的设置相同,仅对选择“是”的元件在生产画面(试打模式)中执行贴片。
在「元件数据」中设置时,为对该元件所有贴片点进行统一设置。
要对每一贴片点逐一设置时,请在「贴片数据」中设置。
6) 释放检查
设置本功能,可在以激光定心的元件为对象进行贴片动作后,通过激光检查元件是否仍吸附在吸
嘴上。
确认元件释放要花时间
(因为需在停止状态下执行)。
所以通常请将初始值设置为“否”。
7) 跳过元件
如果将跳过元件设置为[是],则生产时将跳过指定的元件,不进行贴片。
使用从数据库中被指定为跳过的元件的贴片记录,在生产时虽然不进行贴片,但不加到未贴片列
表中。
从数据库读入元件信息时,「跳过元件」数据将被更改为「否」。