KE-2070_使用说明书.pdf - 第610页
第 2 部 功能详解篇 第 6 章 通用图像 6-2 6-1-2 通用图像元件的规格 1) 数量 · 每 1 个元件最多可 以定义 20 个元件组。 · 每 1 元件组只能指 定 1 种元件。 2) 尺寸规格 元件 项目 标准 VC S 选购件 VCS 引脚元件 间距 0.5 ~ 22.0mm 0.2 ~ 11.0mm 引脚宽度 0.22 ~ 10.0mm 0.08 ~ 5.0mm 引脚长度 0.4 ~ 10.0mm 0.14 ~ 5.…

第 2 部 功能详解篇 第 6 章 通用图像
6-1
第 6 章 通用图像元件、MNVC(多吸嘴 图像定心)
6-1 通用图像元件
6-1-1 概要
具有多个间距引脚的元件、具有多个不同尺寸引脚的元件、具有在任意位置上有引脚的元件(一
般称多引脚元件,图6-1-1-1)和具有多种排列的区域阵列元件(一般称复合阵列元件,图6-1-1-
2)、在任意位置上配置有球或平面的元件等(一般称随机配置元件:图6-1-1-3)、以及外形有角
或边的元件(外形元件),按通用图像元件来对待。
●这些元件按副元件类型可分为:
·多引脚元件 → 引脚元件类
·复合阵列元件、随机配置元件 → 球元件类
·外形元件 → 外形元件类
图 6-1-1-1
图 6-1-1-2
图 6-1-1-3
相同识别要素(元件)的集合被称为“元件组”。亦即;元件是指一个引脚或球;元件组是指大小
相同的元件(引脚或球)的集合。
把排列相同的通用图像元件组作为一个元件组,通过对各个元件组进行定义,可求出元件的中心。
图6-1-1-4由4个元件组构成。
图 6-1-1-4
引脚元件类(多引脚元件
)
球元件类(复合阵列元件)
第 4 元件组
第 3 元件组
第 2 元件组
第 1 元件组
随机配置元件
俯视图
仰视图
俯视图

第 2 部 功能详解篇 第 6 章 通用图像
6-2
6-1-2 通用图像元件的规格
1) 数量
· 每1个元件最多可以定义20个元件组。
· 每1元件组只能指定1种元件。
2) 尺寸规格
元件 项目 标准 VCS 选购件 VCS
引脚元件
间距 0.5~22.0mm 0.2~11.0mm
引脚宽度 0.22~10.0mm 0.08~5.0mm
引脚长度 0.4~10.0mm 0.14~5.0mm
数量 1~384 根/1 元件组
球/平面元件
间距 1.0~22.0mm 0.25~11.0mm
直径 0.4~5.0mm 0.1~2.5mm
数量 3~6936 根/1 元件组
3) 外形元件类的形状·尺寸规格
· 角、边的形状规格与外形识别元件相同。(请参见“4-3-7-3-8识别类型”的“3外形识别元
件的识别条件”。)
· 标记采用圆形和正方形的涂色标记。其尺寸为可用标准VCS在2~10mm的范围内进行识别。

第 2 部 功能详解篇 第 6 章 通用图像
6-3
6-1-3 通用图像元件的数据制作概要
通过制作各元件组的数据来制作通用图像元件的数据。
各元件组的数据制作应输入下述各项:
①元件的信息(引脚或球、以及其大小、形状等)
②元件的数目与元件间的间距
③从元件识别中心位置到首元件
※
的距离
※首元件的定义如下。
·球元件 ⇒ 元件组内左下角的球。
·引脚元件 ⇒ 下边最左、右边最下、上边最右、左边最上的引脚。
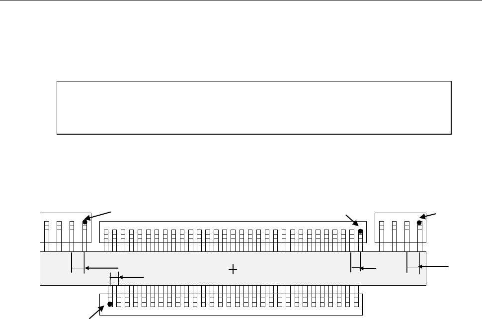
例) 下列通用图像元件,需制作 4 个元件组数据(单位:mm)。
此处省略了上述①的元件信息输入方法。输入方法,请参见以下说明。
第 4 元件组
第 3 元件组
第 2 元件组
第 1 元件组
●第1元件组
·元件的数目及元件间的间距 ⇒ 数目:30,间距:1
·从元件识别中心位置到首元件的距离 ⇒ X:-14.5,Y:-4
●第2元件组
·元件的数目及元件间的间距 ⇒ 数目:4,间距:1.5
·从元件识别中心位置到首元件的距离 ⇒ X:21.5,Y:4
●第3元件组
·元件的数目及元件间的间距 ⇒ 数目:31,间距:1
·从元件识别中心位置到首元件的距离 ⇒ X:15,Y:4
●第4元件组的数据制作
·元件的数目及元件间的间距 ⇒ 数目:4,间距:1.5
·从元件识别中心位置到首元件的距离 ⇒ X:-17,Y:4
输入以上信息,即可完成通用图像数据的制作。
※括号内的数字为到元件
识别中心位置的距离
元件识别中心位置
(0,0)
(-14.5,-4)
(-17,4)
(15,4)
(21.5,4)
1.5
1
1.5
1